Что-то не так?
Пожалуйста, отключите Adblock.
Портал QRZ.RU существует только за счет рекламы, поэтому мы были бы Вам благодарны если Вы внесете сайт в список исключений. Мы стараемся размещать только релевантную рекламу, которая будет интересна не только рекламодателям, но и нашим читателям. Отключив Adblock, вы поможете не только нам, но и себе. Спасибо.
Как добавить наш сайт в исключения AdBlockРеклама
Электронное управление стиральной машиной
|
Многие бытовые стиральные машины при хороших эксплуатационных качествах, таких как долговечность, надежность и удобство пользования, имеют минимум сервисных возможностей, которые обычно сводятся к простому выбору одного из двух режимов стирки и ее продолжительности. Предлагаемое устройство позволяет ввести в любую неавтоматизированную стиральную машину режим реверса и устройство дискретной установки соотношения прямого и обратного хода в цикле стирки, длительности самого цикла и общей продолжительности процесса стирки. Устройство управления стиральной машиной собрано на микросхемах серии К155 максимальная коммутируемая мощность — 450 Вт, соотношение длительности прямого/обратного хода цикла стирки — 1:4, 1:2, 1:1, 2:1, 4:1. Длительность цикла — 1,2,4 мин. Продолжительность стирки — 2,4,6, 12 мин. Принципиальная схема устройства приведена на рис. 1. В качестве опорной частоты для его работы используется частота сети — 50 Гц. В формировании тактовых импульсов принимают участие образующие триггер Шмитта элементы DD1.1, DD1.2, ограничивающий напряжение на уровне лог. 1 стабилитрон VD 1, а также резисторы R1 — RЗ. Через элемент DD1.3 тактовые импульсы поступают на вход составного делителя частоты DD2DD3, обеспечивающего ее деление на 64, а затем — на счетчик DD4, дополнительно понижающий частоту в 4 раза. Таким образом, период опорного сигнала для основных узлов устройства становится приблизительно равным 5 с (точнее, 5,12 с).
Узел, определяющий длительность одного цикла, собран на микросхеме DD5, а соотношение длительности прямого/обратного хода регулируется микросхемой DD7. В зависимости от частоты импульсов, поступающих на ее вход С, изменяется и продолжительность цикла стирки. Коммутируется время (его значения указаны в мин) переключателем SA1. Регистр последовательных приближений DD7 включен по схеме, при которой переход выходов из состояния лог. 1 в состояние лог. О происходит последовательно, а из состояния лог О в состояние лог 1 — одновременно (см. "Радио", 1987, № 10, с. 43,44). Это создает возможность с помощью переключателя SAЗ получать импульсы с различной скважностью. С выбранного переключателем SA3 выхода DD7 управляющие импульсы поступают на базу транзистора VT1, в коллекторную цепь которого включена обмотка реле К1. Его контакты коммутируют пусковой конденсатор, в результате чего и изменяется направление вращения двигателя стиральной машины. Общее время работы задается переключателем 5А2 и зависит от периода сигнала, снимаемого с одного из выходов микросхемы DD6 и поступающего на узел управления питанием, собранный на триггерах микросхемы DD8. После нажатия на кнопку ЗВ1 "Пуск" эти триггеры вместе со счетчиками DD5, DD6 устанавливаются в единичное состояние. При этом разрешается прохождение тактовых импульсов через элемент DD1.3 и открывается транзисторVT2. В результате замыкаются контакты реле К2 и запускается двигатель. По истечении интервала времени, заданного переключателем 5А2, отрицательный перепад напряжения на одном из выходов микросхемы DD6 переключает триггеры в нулевое состояние. Счет импульсов запрещается, транзистор VT2 оказывается закрытым и ток через обмотку реле К2 не течет. После этого состояние узлов устройства не будет меняться до следующего нажатия на кнопку "Пуск".
В устройстве применены доступные детали Вместо К155ТМ2 подойдут аналогичные микросхемы серий К555, К1533. Стабилитрон КС139А (VD1) допустимо заменить на КС147А. Все резисторы — МЛТ-0,125, конденсаторы — К50-16. Диоды Д9Б (VD2 — VD4) вполне заменят маломощные кремниевые диоды серий КД503 КД522 или другие аналогичные. Переключатели SA1 SAЗ малогабаритные галетные ПГЗ на соответствующее число положений и направлений. Кнопка SB1 — любая малогабаритная. Реле К1, К2 — РЭС48А(Б). паспорт РС4.590.201. Трансформатор Т1 — ТН 36 — 127/220-50. Устройство управления стиральной машиной может быть выполнено в одно или двухблочном варианте. В первом случае все детали монтируют в едином пластмассовом корпусе, размещаемом внутри отсека управления приводом машины. Органы оперативной регулировки располагают на передней панели корпуса и выводят наружу через отверстие а корпусе машины, образующееся после демонтажа штатного блока управления и соответствующим образом подготовленное под размеры нового корпуса. При этом между корпусами устройства и стиральной машины следует обязательно установить герметизирующую прокладку. Неудобство данного варианта состоит в низком расположении органов регулировки. Поэтому предпочтительнее является двухблочныи где все детали устройства, за исключением трансформатора питания, выпрямителя, стабилизатора и управляющих реле, располагают во внешнем пластмассовом корпусе, установленном на сухой стене помещения, в котором производится стирка, либо вообще вынесенном за его пределы, а все элементы силовых цепей размещают в другом герметизированном пластмассовом корпусе внутри отсека управления приводом. В этом случае силовой блок соединяют с самой стиральной машиной пятью проводами: по одному из них поступает положительное напряжение +5 В для питания цифровой части устройства; второй —служит общим проводом, по третьему — подается сигнал опорной частоты 50 Гц напряжением 6,3 В; по четвертому и пятому — производится управление реле К1.К2. Такое соединение может показаться не вполне удобным, однако оно отвечает общим требованиям техники безопасности и полностью исключает возможность поражения электрическим током при эксплуатации устройства. В обоих случаях прикреплении переключателей необходимо использовать герметизирующие прокладки и изолирующие ручки ("клювики"). Расстояние между корпусом устройства и нижней поверхностью ручки не должно быть более 2 мм. Для выключателя питания устройства и кнопки "Пуск" необходимо подобрать резиновые наконечники, полностью закрывающие их рабочие и металлические части крепления. Д. ПАНКРАТЬЕВ
|
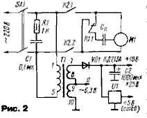
Элементы DD1.4, VD2 — VD4, R6 — R8 и С1 — СЗ обеспечивают остановку двигателя примерно на 1 с при переключении прямого/обратного хода во избежание больших механических нагрузок и повреждения контактов реле реверса. Диоды VD5, VD6 защищают управляющие транзисторы от пробоя импульсами обратного напряжения при выключении реле К1, К2. Каждый перепад напряжения (положительный или отрицательный) на выходе микросхемы DD7 вызывает сброс триггера DD8.1 в нулевое состояние, обесточивая двигатель Повторный пуск происходит автоматически через 1,28 с отрицательным импульсом с выхода 6 микросхемы DD3. Отсутствие целочисленной корреляции и четкой взаимозависимости между установками длительности цикла и общей продолжительности стирки не создает сколь-нибудь заметных неудобств в процессе эксплуатации устройства, однако позволяет значительно упростить его схему. Для питания устройства использован накальный трансформатор Т1 (рис. 2). Напряжение 12,6 В с его последовательно соединенных обмоток 7-8 и 9-10 поступает на однополупериодныи выпрямитель VD1С2 и далее на блок управления. Ток, потребляемый этой цепью, не превышает 150 мА. С выводов 9-10 трансформатора Т1 снимается переменное напряжение опорной частоты 50 Гц, которое поступает на формирующую цепь VD1R1 (см. рис. 1). СтабилизаторU1 — на напряжение +5 В стаб. и ток нагрузки до 500 мА, например, микросхема КР142ЕН5А. Конденсатор Сn -штатный для конкретного вида стиральной машины.