Что-то не так?
Пожалуйста, отключите Adblock.
Портал QRZ.RU существует только за счет рекламы, поэтому мы были бы Вам благодарны если Вы внесете сайт в список исключений. Мы стараемся размещать только релевантную рекламу, которая будет интересна не только рекламодателям, но и нашим читателям. Отключив Adblock, вы поможете не только нам, но и себе. Спасибо.
Как добавить наш сайт в исключения AdBlockРеклама
Звучащий брелок
|
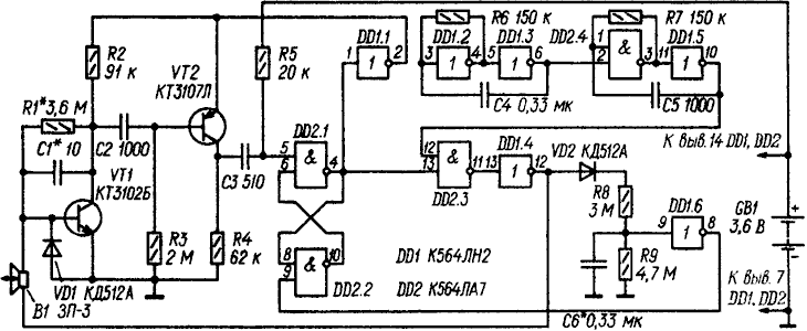
Не правда ли, знакомая ситуация: вы торопитесь на работу, но, как на зло, куда-то подевались ключи от квартиры. Вот если бы ключи могли откликаться на зов владельца... А ведь сделать это не так уж трудно - надо лишь снабдить их специальным брелоком, в котором смонтировано электронное устройство, отзывающееся на громкий звук. Брелок реагирует на свист, хлопок в ладоши и т. п. звуки и издает в ответ прерывистый звуковой сигнал. Его чувствительность довольно высока - он "слышит" зовущего с расстояния до 6 м. Устройство выполнено всего на двух транзисторах и двух микросхемах экономичной серии К564, благодаря чему потребляемый ток в режиме ожидания не превышает 100, а в режиме отклика - 150 мкА.
Принципиальная схема электронного брелока изображена на рис.1. Он содержит пьезокерамический преобразователь В1, выполняющий функции микрофона и звукоизлучателя, усилитель сигнала ЗЧ на транзисторах разной структуры VT1, VT2, RS-триггер (DD2.1, DD2.2), два генератора импульсов (DD1.2, DD1.3 и DD2.4, DD1.5), электронный ключ (DD2.3), два инвертора (DD1.1, DD1.4) и реле выдержки времени (VD2, R8, R9, С6, DD1.6). При включении питания оба генератора импульсов самовозбуждаются (первый - на частоте несколько герц, второй - несколько килогерц), a RS-триггер устанавливается в одно из устойчивых состояний, которое и определяет режим работы всего устройства. Допустим, триггер установился в нулевое состояние (на выходе элемента DD2.1 - напряжение с уровнем логического 0). В этом случае выходное напряжение инвертора DD1.1 близко к напряжению питания, и усилитель на транзисторах VT1, VT2 включен, что соответствует режиму ожидания. Сигнал ЗЧ с выхода генератора импульсов на элементах DD2.4, DD1.5 поступает на верхний (по схеме) вход элемента DD2.3, но через него не проходит, так как на его второй (нижний) вход подано напряжение с уровнем логического 0. Сигнал такого же уровня в этом режиме и на выходе элемента DD1.4. Иными словами, нижний (по схеме) вывод пьезокерамического преобразователя В1 фактически соединен с общим проводом, и сам он выполняет функции микрофона, подключенного к входу усилителя. Резкий хлопок, свист или иной подобный звук преобразуется микрофоном в электрические колебания. Они усиливаются транзисторами VT1, VT2 до уровня 2...3 В и переключают RS-триггер (DD2.1, DD2.2) в единичное состояние (на выходе DD2.1 - уровень 1). Наличие дифференцирующей цепи R5C3 повышает помехоустойчивость устройства, предотвращая его реакцию на посторонние шумы. Переход RS-триггера в единичное состояние приводит к выключению усилителя (напряжение на выходе инвертора DD1.1 снижается почти до 0) и создает условия для прохождения сигнала ЗЧ через элемент DD2.3. В результате на выходе инвертора DD1.4 возникает импульсное напряжение. Оно поступает на нижний (по схеме) вывод пьезокерамического преобразователя В1, и поскольку его верхний вывод соединен с общим проводом через диод VD1 и эмиттерный переход транзистора VT1, он начинает издавать прерывистый звук. Одновременно импульсы с выхода инвертора DD1.4 через диод VD2 и резистор R8 заряжают конденсатор С6. Спустя 2...4 с после перехода устройства в режим отклика напряжение на нем достигает уровня переключения инвертора DD1.6, и тот скачком переходит я состояние, в котором напряжение на его выхода близко к 0. Перепад напряжения переводит RS-трнггер в исходное состояние, и устройство вновь готово откликнуться на звуковой сигнал. Резистор R9 необходим для быстрой разрядки конденсатора С6 после перехода устройства в режим ожидания. Если же в момент включения питания RS-триггер установится в единичное состояние, брелок немедленно начнет издавать звуковой сигнал, но, как и в описанном случае, через 2...4 с перейдет в режим ожидания. Кроме указанных на схеме, в устройстве можно применить соответствующие микросхемы серии К561, однако это приведет к некоторому увеличению габаритов брелока. Транзисторы КТ3102Б и КТ3107Л можно заменить любыми другими маломощными (и, конечно, малогабаритными) кремниевыми транзисторами соответствующей структуры (например, КТ315Г и КТ361Б) со статическим коэффициентом передачи тока h21э не менее 200. В качестве микрофона и излучателя звука применен пьезокерамический излучатель ЗП-3. Его частотные характеристики, как в роли микрофона, так и в роли звукоизлучателя, имеют заметный подъем на высших частотах звукового диапазона. Эта особенность учтена при выборе элементов частотозадающих цепей усилителя и генератора сигнала ЗЧ: при указанных на схеме номиналах наибольшая чувствительность устройства приходится на частотную полосу 3...15 кГц. Диод VD1 необходимо подобрать с помощью омметра по минимальному прямому сопротивлению (чем оно меньше, тем громче будет звучать брелок). В устройстве применены резисторы МЛТ и конденсаторы КМ. Для питания использована батарея, составленная из трех соединенных последовательно аккумуляторов Д-0,06. Возможно применение и других источников тока, например, аккумуляторов Д-0,1, Д-0,25 и др., однако это также повлечет за собой увеличение габаритов брелока. Налаживание в основном сводится к установке режима работы первого транзистора усилителя и выбору времени подачи ответного сигнала. На время налаживания усилитель подключают непосредственно к батарее питания. Резистор R1 и конденсатор С1 подбирают по наибольшей чувствительности усилителя в указанном частотном интервале. Чувствительность устройства в целом регулируют при необходимости подборкой конденсатора С3. Длительность звучания ответного сигнала регулируют, подбирая конденсатор С6, а частоту - конденсаторы С4 и С5. Детали брелока смонтированы навесным способом на плате размерами 20х25 мм из стеклотекстолита толщиной 1 мм. С одной стороны установлены (одна над другой) микросхемы DD1, DD2, с другой - все остальные детали. Выводы 7 и 14 обоих микросхем попарно соединены непосредственно, остальные - отрезками провода ПЭВ-2 диаметром 0,2 мм. Такой же провод применен и для соединения микросхем с остальными деталями. Пьезокерамический преобразователь В1 припаян своими выступами к стойкам высотой 10 мм из медного провода диаметром 0,5 мм. Смонтированная плата вместе с источником питания помещена в пластмассовую коробку размерами 50х35х15 мм (можно использовать готовый корпус, например, от слухового аппарата). В его стенке, расположенной напротив пьезокерамического излучателя, просверлено отверстие диаметром 6 мм. Во избежание срабатывания устройства на случайные удары и сотрясения между платой и стенками корпуса брелока помещены тонкие (1,5...2 мм) прокладки из пенополиуретана (поролона) . М. СЫТНИК, Р. МИРОНОВ |