Что-то не так?
Пожалуйста, отключите Adblock.
Портал QRZ.RU существует только за счет рекламы, поэтому мы были бы Вам благодарны если Вы внесете сайт в список исключений. Мы стараемся размещать только релевантную рекламу, которая будет интересна не только рекламодателям, но и нашим читателям. Отключив Adblock, вы поможете не только нам, но и себе. Спасибо.
Как добавить наш сайт в исключения AdBlockРеклама
Градиентное реле
|
К градиентным реле можно отнести устройства, реагирующие на скорость изменения контролируемого параметра. Такие реле используют для контроля меняющихся во времени величин. В исходном состоянии соотношение сопротивлений делителя R1 и датчика (рис.1-3) близко к 1. Напряжения на обоих входах компаратора равны между собой, градиентное реле находится в режиме ожидания сигнала (режиме готовности). Допустим, что сопротивление датчика изменилось. При понижении напряжения на делителе R1-датчик, напряжение на одном из входов изменяется практически мгновенно, а на другом изменение напряжения во времени происходит с задержкой, обусловленной использованием RC-цепочки. Для срабатывания компаратора достаточно, чтобы разность напряжений на его входах составила несколько милливольт. В силу малой разности напряжений можно считать, что заряд (или разряд) конденсатора происходит по линейному закону (рис 4). Следовательно, при изменении сопротивления датчика градиентное реле срабатывает в момент времени 11. Если впоследствии сопротивление датчика не изменяется или возвращается к исходному уровню, на входах компаратора вновь устанавливается состояние равновесия, и градиентное реле отключается. Рассмотрим практические примеры применения градиентных реле.
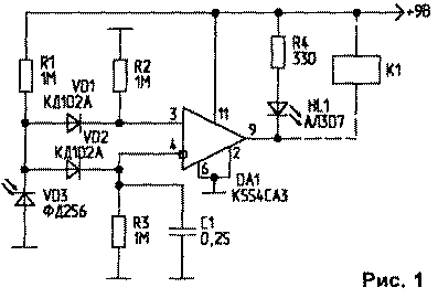
Градиентное фотореле. Индикатор изменения освещенности (рис 1) предназначен для использования в телевизионных охранных системах и не требует вмешательства в их работу. Известно, что визуальный контроль редко меняющегося изображения на экране монитора далеко не эффективен и утомителен. Решить эту проблему можно при использовании индикатора изменения освещенности телевизионного экрана. Чувствительным элементом индикатора является фотодиод VD3 Фотодиод напрямую, либо через оптоволокно с использованием светособирающего конуса, направляют на участок телевизионного экрана, наиболее критичный к условиям охраны. При неизменной освещенности на телевизионном экране рабочая точка компаратора DA1 устанавливается автоматически. Напряжение с делителя R1, VD3 через диоды VD1 и VD2 подается на входы компаратора DA1. В силу равенства этих напряжений чувствительность компаратора близка к предельно высокому уровню, и небольшая разность напряжений при изменении сопротивления датчика (VD3) вызывает срабатывание исполнительного устройства - светодиода HL1 и реле К1, управляющего системой тревожной сигнализации, включающего видеомагнитофон или иное регистрирующее устройство. Таким образом, если в поле контролируемого участка изображения появляется какой-либо объект, происходит изменение освещенности экрана и, соответственно, изменяется ток через фотодиод. Изменение электрического сопротивления фотодиода приводит к мгновенному изменению напряжения на неинвертирующем входе (вывод 3) компаратора DA1. На инвертирующем же входе (вывод 4) микросхемы изменение напряжения во времени происходит с задержкой, обусловленной использованием интегрирующей цепочки (R3,C1). Подключение конденсатора С1 к тому или иному входу компаратора позволят настроить схему для работы с негативом или позитивом (на понижение или повышение освещенности экрана). Градиентное фотореле можно использовать и в оптических охранных системах, а также для подсчета изделий на конвейере. Для этого используют светодиод, работающий в видимой или инфракрасной областях спектра и градиентное фотореле, расположенное в пределах прямой видимости. При пересечении каким-либо объектом луча, устройство срабатывает.
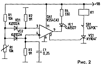
Градиентное термореле, показанное на рис 2, может быть применено для контроля изменения температуры (в пожарной или охранной сигнализации, реагирующей на изменение температуры при перемещении нагретого воздуха, тела человека) В качестве термодатчика использован стержневой терморезистор прямого подогрева с отрицательным температурным коэффициентом сопротивления (ММТ-6). Начальное сопротивление этого или иного датчика должно быть соизмеримо с сопротивлением R1 Тепловая инерция датчика составляет 35 с. В схеме показан другой вариант подключения нагрузки к компаратору DA1 - в эмиттерную цепь выходного транзистора компаратора. Этот транзистор управляет тиристором VS1 с током нагрузки до 100 мА. При срабатывании градиентного термореле тиристор включается и блокирует реле К1. Снять блокировку реле можно кратковременным нажатием на кнопку SB1 "Сброс". Устройство реагирует на перемещение тела человека вблизи датчика, на дыхание - на расстоянии до 50 см. Если дуть на термодатчик с расстояния 1...1.5 метра, регистрирующее устройство срабатывает с некоторой задержкой, что обусловлено малой скоростью распространения фронта тепловой волны. Чувствительность градиентного термореле может быть повышена при использовании термопреобразователей с малой массой и теплоемкостью, например термосопротивлений бусинкового типа СТ1-18, СТЗ-18, для которых тепловая инерция составляет порядка 1 с, СТЗ-25 - 0,4 с.
В градиентном индикаторе электрического поля (рис.3) использован датчик, чувствительный к изменению электрического поля (полевой транзистор VT1). При отсутствии постоянного электрического поля сопротивление датчика минимально, и напряжение на входах компаратора близко к напряжению питания. При появлении источника постоянного электрического поля сопротивление канала исток-сток полевого транзистора возрастает, напряжение на средней точке входного делителя уменьшается, и градиентное реле срабатывает. Индикатор имеет высокую чувствительность. Без антенны (антенна - вывод затвора полевого транзистора) устройство реагирует на перемещение наэлектризованного предмета на расстоянии до 1,5 м. Сенсорно-емкостное реле градиентного типа (рис.5) включается при касании сенсорной площадки (сенсорное реле), или срабатывает при приближении объекта к антенне устройства (емкостное реле). Принцип действия устройств заключается в наведении переменного электрического тока частотой 50 Гц через тело человека на вход схемы. На неинвертирующий вход компаратора полуволны выпрямленного напряжения поступают напрямую; на инвертирующий - через интегрирующую цепочку C1-R3. При этом напряжение на этом входе превышает напряжение на неинвертирующем входе, и устройство срабатывает. В емкостном реле за счет использования антенны входная цепь устройства представляет собой одну из обкладок развернутого в пространстве конденсатора, что обуславливает повышенную чувствительность к появлению в поле этого конденсатора токопроводящих объектов (человека, животных) Сенсорную площадку или антенну можно подключить ко входу схемы через высоко-омный резистор (единицы мегаом), либо конденсатор небольшой емкости (единицы десятки пикофарад). ![]() ![]() Puc.5 ![]() Puc.6 Детектор ВЧ-сигналов может быть выполнен по схеме (рис.6) с использованием диодов типа Д9Ж и подбором резистивных элементов R1...R3 для оптимизации их рабочей точки. ВЧ-сигнал подают на диоды через конденсатор емкостью 10...100 пФ. Светодиод HL1 в цепи нафузки начинает светиться при уровне входного сигнала 60... 100 мВ (частота - свыше 200 кГц). В НЧ-диапазо-не (единицы килогерц) переходную емкость следует увеличить. Сейсмореле и реле ударного срабатывания (рис.6). Для реализации сейсмореле, реагирующего на микровибрации, ко входу устройства через разделительный конденсатор подключают сейсмодатчик, например СВ-10Ц (с вертикальной поляризацией и сопротивлением 200 Ом). Датчиком реле ударного срабатывания может служить пьезокерамический капсюль ЗП-3, ЗП-19 и др. Устройство реагирует на легкое постукивание по столу, на котором расположены датчики. В качестве датчика можно использовать и пьезоэлектрический звукосниматель электропроигрывающего устройства. Для повышения чувствительности устройства кремниевые диоды следует заменить на германиевые. Акустическое градиентное реле. За основу такого реле может быть взята схема, приведенная на рис 6. Ко входу устройства подключают цепочку из конденсатора емкостью 0,15 мкФ и динамического микрофона, роль которого может выполнять телефонный капсюль ТК-67 (ТМ2В) или телефон ТОН-1/TОН-2. Устройство чувствительно к ВЧ-состав-ляющей звуковых сигналов. Магниточувствительное реле градиентного типа может быть выполнено по схеме с использованием в качестве датчика магниторезистора СМ-1 (рис.2) Датчиком переменного магнитного поля может служить и телефонный капсюль без мембраны или мно-говитковая катушка с сердечником из железа. Такой датчик подключают ко входу устройства через электролитический разделительный конденсатор емкостью свыше 10 мкФ. Реле срабатывает, если датчик поднести к источнику переменного магнитного поля (катушке электромагнита). На основе градиентных реле могут быть собраны (при использовании датчиков соответствующего типа) реле влажности, давления (буремеры) и другие устройства. М. ШУСТОВ |


