Что-то не так?
Пожалуйста, отключите Adblock.
Портал QRZ.RU существует только за счет рекламы, поэтому мы были бы Вам благодарны если Вы внесете сайт в список исключений. Мы стараемся размещать только релевантную рекламу, которая будет интересна не только рекламодателям, но и нашим читателям. Отключив Adblock, вы поможете не только нам, но и себе. Спасибо.
Как добавить наш сайт в исключения AdBlockРеклама
УКВ приЈмник из старого телевизора
|
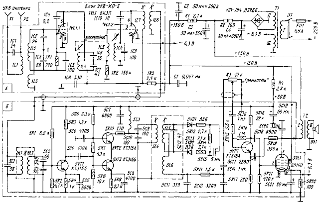
Используя функциональные узлы от отслуживших свой срок радиоприемников и телевизоров, можно при минимальных затратах средств и времени собрать достаточно хороший УКВ приемник. Как это сделать, и рассказывает публикуемая здесь статья. Для изготовления конструкции с диапазоном приема на частотах 65...74 МГц (монофонический вариант) можно применить блок звукового сопровождения практически от любого лампового или лампово-полупроводникового черно-белого или цветного телевизора и УКВ блок от любого лампового приемника, радиолы или магнитолы (далее по тексту просто лампового приемника) старых моделей. УКВ блок ламповых приемников представляет собой функционально и конструкционно законченный узел, заключенный в металлический корпус, внутри которого смонтированы входные цепи с органами настройки, усилитель высокой частоты, гетеродин и преобразователь частоты. После преобразования радиочастотного сигнала, принятого блоком УКВ, на его выходе в старых моделях получали сигнал с промежуточной частотой 6,5 МГц. С такой же частотой работали (и работают до сих пор) блоки звукового сопровождения всех телевизоров, которые в своем составе имеют все необходимые узлы для усиления радиосигнала, его декодирования и усиления выделенного сигнала звукового сопровождения. Это обстоятельство и позволило сравнительно простыми способами объединить блоки различных радиоэлектронных устройств для создания радиоприемника УКВ диапазона. Подключение УКВ блока (любого типа) от радиоприемника и платы звукового сопровождения от телевизора (тоже любого типа) одинаково и заключается в подаче на них накального переменного напряжения 6,3 В и соответствующего анодного постоянного +150 и +250 В, а также подключении антенны ко входу УКВ блока, громкоговорителя с согласующим трансформатором к выходу звуковой платы и межблочного соединения коаксиальным кабелем 75 Ом.
Принципиальная схема возможного варианта приемника приведена на рисунке. В качестве узлов использованы высокочастотный блок типа УКВ-ИП-2 (блок А), имевший наиболее широкое применение, и плата звукового сопровождения (блок Б) от телевизора ЗУЛПТ-50-III ("Рекорд-В312", "Весна-308"). Порядковая индексация элементов на приводимой схеме указана в соответствии с их заводскими схемами для каждого конкретного блока. Дополнительно используется несколько радиоэлементов для построения узла питания и подключения громкоговорителя, индексация этих элементов отдельная. В качестве регулятора громкости использован переменный резистор (R3) с сопротивлением 47 кОм (характеристика регулирования типа В) от указанного телевизора. Возможна замена на другой переменный резистор с сопротивлением до 150 кОм. Резистор R4 ПЭВ-7,5 также имеется в телевизоре, при отсутствии его можно заменить тремя резисторами МЛТ-2 12 кОм, соединенными параллельно. Резистор R1 - типа ПЭВ-7,5 или три резистора МЛТ-2 по 8,2 кОм каждый, соединенных параллельно. Конденсатор С1 бумажный, например БМТ-2 0,047 мкФ(400В, при его установке распаян непосредственно на контактах УКВ блока. Емкости оксидных (электролитических) конденсаторов фильтра (С2-С4) не критичны и могут быть изменены как в большую, так и меньшую сторону в зависимости от имеющихся в наличии. В качестве трансформатора питания (Т1) можно использовать трансформатор от любого лампового приемника. Выходной трансформатор (Т2) практически от любого телевизора (в спецификациях телевизионных радиоэлементов они именовались как ТВЗ с соответствующим порядковым числом) или от любой другой аппаратуры, например, лампового приемника или магнитофона. Если использованные узлы исправны и монтаж выполнен правильно, то регулировка собранного приемника может быть минимальна. Она сводится к установке необходимых питающих напряжений в зависимости от реальных токов потребления примененных блоков. После включения приемника напряжение +250 В устанавливается подбором резистора R2, +150 В - R1 и +20 В (питание транзисторной части платы звукового сопровождения) - резистора R4. Конструкция приемника может быть произвольной. Все зависит от габаритов используемых элементов (в основном плат, трансформаторов и оксидных конденсаторов) и вкуса радиолюбителя. Необходимо только учесть следующее: плату блока звука нужно расположить лампами вверх, чтобы они не подогревали остальные элементы монтажа, а трансформаторы питания и выходной разнести на возможно максимальное расстояние и расположить так, чтобы их магнитопроводы были взаимно перпендикулярны (при этом сетевые наводки будут минимальны). Соблюдая указанные рекомендации, вы сможете быстро собрать и отрегулировать электронную часть приемника, получив при этом неплохие результаты. При некотором усложнении конструкции и соответственно затратах времени и средств возможно аналогичным образом выполнить и стереофонический вариант. Потребуются лишь две платы звука и дополнительно изготовленный стереодекодер. Радио №2, 1999 |