Что-то не так?
Пожалуйста, отключите Adblock.
Портал QRZ.RU существует только за счет рекламы, поэтому мы были бы Вам благодарны если Вы внесете сайт в список исключений. Мы стараемся размещать только релевантную рекламу, которая будет интересна не только рекламодателям, но и нашим читателям. Отключив Adblock, вы поможете не только нам, но и себе. Спасибо.
Как добавить наш сайт в исключения AdBlockРеклама
УКВ приемники на К174ХА42
|
УКВ приемники на микросхеме К174ХА2, описания которых были опубликованы в журнале "Радио" в 1997 г., вызвали интерес у читателей. Однако у некоторых из них при повторении этих конструкций возникли сложности - приемники возбуждались. Одной из причин этого явления могло быть то, что при самостоятельной разводке печатных плат (они отсутствовали в описании приемников) радиолюбители не учитывали некоторые особенности эксплуатации интегральных микросхем, работающих на высоких частотах. В публикуемой здесь конструкции печатная плата была разработана с учетом этих факторов.
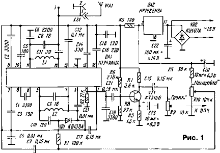
Принципиальная схема УКВ приемника приведена на рис. 1. Он рассчитан на работу в диапазоне 65,8...74 МГц и имеет электронную настройку на радиостанции. Настройка осуществляется варикапом VD1, управляющее напряжение на который поступает с переменного резистора R10. При перемещении движка этого резистора изменяется поступающее на варикап управляющее напряжение, вследствие чего меняется его емкость, а следовательно, частота гетеродина и частота настройки приемника. К выходу детектора микросхемы DA1 (вывод 1) подключен предварительный усилитель ЗЧ на транзисторе VT1. Питается приемник от источника переменного напряжения 11...15 В, которое выпрямляется диодным мостом VD2. К его выходу подключен стабилизатор на микросхеме DA2.
Приемник смонтирован на печатной плате из фольгированного стеклотекстолита толщиной 1,2 мм (рис. 2). При монтаже использованы постоянные резисторы МЛТ-0,125, переменные СП3-30а (R9) и СП3-36 (R10), оксидные конденсаторы К50-35, остальные - КТ-2 (С8, С11) и КМ5-б. Катушки L1 и L2 - бескаркасные. Обмотка первой содержит 12, а второй - 6 витков провода ПЭВ-10,5 диаметр обмоток 4 мм. Шаг намотки - 1 мм. Для уменьшения паразитных связей катушки L1 и L2 следует расположить перпендикулярно друг другу. Чтобы индуктивность выводов конденсаторов С6, С8, С11 и С13 была меньше, их длина должна быть возможно короче. При отсутствии варикапа вместо него можно включить конденсатор переменной емкости, а резистор настройки R11 и резисторы R1, R4 исключить. При правильном монтаже и использовании исправных деталей приемник начинает работать сразу после подачи питания и подключения антенны. Требуются лишь проверка диапазона перестройки частоты гетеродина и настройка входного контура на середину диапазона принимаемых частот. Описанная конструкция длительное время находилась в эксплуатации. Функции усилителя ЗЧ может выполнять микросхема К174УН14. Радио №6, 1999 |