Что-то не так?
Пожалуйста, отключите Adblock.
Портал QRZ.RU существует только за счет рекламы, поэтому мы были бы Вам благодарны если Вы внесете сайт в список исключений. Мы стараемся размещать только релевантную рекламу, которая будет интересна не только рекламодателям, но и нашим читателям. Отключив Adblock, вы поможете не только нам, но и себе. Спасибо.
Как добавить наш сайт в исключения AdBlockРеклама
Микрорадиостанция
|
В большинстве случаев при создании радиостанции стремятся увеличить радиус ее действия. Однако есть применения, где на первый план выходит не дальность связи, а удобство пользования ей. И в первую очередь - возможность использовать радиостанцию, оставляя свободными обе руки. Не помехой для этих применений будут минимальный вес и габариты радиостанции. Вот несколько примеров. При установке больших антенных мачт обычно задействовано несколько человек. Причем они могут находиться на таком расстоянии, на котором обеспечить надежную синхронизацию их действий просто голосом уже нельзя (особенно в условиях внешних шумов, ветра и т. д.). А без синхронных действий команды мачта при подъеме может и завалиться со всеми вытекающими из этого последствиями. При движении мотоцикла переговоры между водителем и пассажиром практически невозможны. Иногда для обеспечения связи водитель - пассажир применяют проводные переговорные устройства. Но они опасны в пользовании, так как при падении провод может усугубить аварийную обстановку, превратившись в "удавку". Микрорадиостанция в шлеме лишена этого весьма существенного недостатка. Этот список можно продолжить: альпинисты на сложном маршруте, путешественники на байдарках по быстрым рекам и т. д. Радиостанция, описание которой приводится в публикуемой статье, предназначена для решения именно таких задач, и ее применение может в определенных ситуациях спасти человеческие жизни.
Для решения задачи организации радиосвязи на очень небольшие расстояния оптимальными являются любительский диапазон 10 метров и соседствующий с ним Си-Би диапазон. Схемотехника на частотах, соответствующих этим диапазонам, относительно проста, а конструкции легко воспроизводятся и налаживаются даже при не очень большом опыте работы на высоких частотах. Практическая конструкция радиостанции, о которой идет речь в этой статье, была изготовлена на СиБи диапазон. При повторении ее в варианте на любительский диапазон 10 метров скорее всего потребуется заменить лишь кварцевые резонаторы в приемнике и передатчике, поскольку пределов подстройки катушек индуктивности должно хватить и для рабочей частоты в пределах и этого диапазона.
Схема передатчика приведена на рис. 1. Тракты приемника и передатчика этой микрорадиостанции полностью раздельные. Связывает их лишь цепь управления, отключающая приемник при работе на передачу. Он состоит из задающего генератора, выходного каскада, микрофонного усилителя и узла голосового управления включением передатчика (и выключения приемника). Задающий генератор выполнен на транзисторе VT5 по схеме "емкостная трехточка". Частоту генерации определяет кварцевый резонатор ZQ1. Последовательно с ним включен варикап VD3, который используется для частотной модуляции генератора. Усилитель мощности выполнен на транзисторе VT6. Колебательный контур L2C11 в его коллекторной цепи настроен на рабочую частоту радиостанции. На транзисторе VT1 и микросхеме DA1 выполнен микрофонный усилитель, сигнал с выхода которого поступает на варикап VD3. Передатчик включается "голосом". Сигнал с выхода микросхемы DA1 поступает на выпрямитель VD1VD2R8C5. Постоянное напряжение с выхода этого выпрямителя открывает транзисторы VT2 и VT3. Последний подает питание на высокочастотные каскады передатчика. Задержку выключения передатчика можно рассчитать по формуле: tвыкл =С5 х R8 х R9/(R8+R9). Обычно ее выбирают в пределах 0,4...2 с. Этот выбор определяется особенностями речи оператора (ее темпом, длительностью речевых пауз). Нужную задержку устанавливают подбором конденсатора С5. Через транзистор VT4 управляющий сигнал поступает на приемник, выключая его на время работы на передачу.
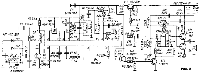
Схема приемника показана на рис. 2. На транзисторе VT1 собран усилитель радиочастоты. Его входной (L1C2C3) и выходной (L3C5C6) контуры настроены на рабочую частоту радиостанции. Связь приемника с антенной - трансформаторная. Германиевые диоды VD1 и VD2 ограничивают уровень входного сигнала на уровне примерно 0,2 В, исключая тем самым выход из строя транзистора VT1 при работе радиостанции на передачу. Основная обработка сигнала радиочастоты происходит в микросхеме DA1. Она включает в себя гетеродин (его частоту задает кварцевый резонатор ZQ1), смеситель, на нагрузке которого (фильтр ZQ2) выделяется сигнал промежуточной частоты 465 кГц, частотный детектор с фазосдвигающим контуром L5C10R3, усилитель шумоподавителя и предварительный УЗЧ. На операционном усилителе DA2 и транзисторах VT5 и VT6 собран усилитель мощности ЗЧ. Его особенность - низкое энергопотребление во всех режимах. Усилитель постоянного тока (транзисторы VT3, VT4) работает в ключевом режиме. Он согласовывает выход шумоподавителя с управляющим входом DA2. Это позволяет исключить влияние изменений напряжения питания радиостанции (при разряде аккумуляторов) на работу шумоподавителя. Порог срабатывания шумоподавителя регулируют резистором R6. Когда появляется полезный сигнал, на выходе детектора уменьшаются высокочастотные шумы и уровень напряжения на выводе 13 DA1 изменяется скачком с высокого на низкий. Транзисторы VT3 и VT4 открываются, разрешая работу УЗЧ. Транзистор VT2 подает питание на радиочастотную часть приемника при выключении передатчика. Когда на выводе А высокий уровень, VT2 закрыт и тракты РЧ и ПЧ приемника обесточены. При низком уровне на выводе А транзистор VT2 открывается до насыщения и радиоприемник включается в нормальную работу. Приемник может иметь собственную антенну, а может быть подключен к антенне передатчика. Радио №8, 1999 Микрорадиостанция (часть2) Радиостанция смонтирована на печатной плате из двусторонне фольгированного стеклотекстолита толщиной 1,5 мм (рис. 3). Красная линия условно разделяет передатчик и приемник. Фольгу со стороны деталей используют лишь в качестве общего провода и экрана. В местах пропуска проводников в ней сделаны (вытравлены) соответствующие выборки (на рис. 3 они не указаны). Соединения с фольгой "заземляемых" выводов резисторов, конденсаторов и других элементов показаны черными квадратами. Такими же квадратами, но со светлой точкой в центре, отмечены проволочные перемычки, соединяющие с фольгой общего провода те или иные фрагменты печатного монтажа, и "заземляемые" выводы микросхем. ![]()
Конструкция катушки L2 и ее монтаж на плате показаны на рис. 5. Ее 16 витков намотаны в ряд проводом ПЭВ-2 0,33. Катушку L3 (четыре витка провода ПЭВШО 0,2) наматывают поверх L2 у "холодного" (по ВЧ) ее конца. Подстроечник катушки L2 такой же, как и у L1. Микрофон ВМ1 - CZN-15E. Можно взять электретный микрофон и другого типа. Катушки приемника (рис. 2) L1, L3 и L5 - экранированные, заводского изготовления, типа КВП, с катушками связи. Они приобретены в московском магазине "Чип и Дип". Индуктивность L1 и L3 - 1 мкГн, L5 - 240 мкГн. Катушки связи в L3 и L5 оставляют незадействованными (замыкать их нельзя!). Допустимо использовать и другие катушки с соответствующей индуктивностью и приемлемыми габаритами. Контактные лепестки экранов отгибают под прямым углом и припаивают непосредственно к фольге общего провода. Катушка L4 - 10 витков провода ПЭВШО 0,12. Ее наматывают виток к витку на каркасе диаметром 5 мм (рис. 4). Кварцевые резонаторы радиостанции можно впаять в предназначенные для них отверстия. Но, как показывает опыт, частота кварцевого резонатора иногда значительно отличается от номинала, проставленного на его корпусе. Чтобы была возможность менять кварцевые резонаторы без пайки, на плате установлены миниатюрные гнезда от разъема, рассчитанного под штырь диаметром 1 мм. Их крепление на плате можно выполнить так, как показано на рис. 6. Динамическая головка BA1 - 0,25ГДШ-7 сопротивлением 50 Ом. Все постоянные резисторы в радиостанции - МЛТ-0,125, подстроечные - СП3-38а. Оксидные конденсаторы С2 и С10 (см. рис.1) и С22 (рис.2) имеют диаметр 6 мм, а С21 (рис.2) - 5 мм. Эти конденсаторы - зарубежного производства (отечественные имеют большие габариты). На плате их монтируют так, как показано на рис. 7. Во избежание замыкания фольга под конденсатором имеет кольцевую выборку. Конденсаторы С3, С5 (см. рис.1) и С11 (см. рис.2) - К53-30. Прочие - КМ-6, К10-17б, КД и др. Для настройки радиостанции желательно иметь частотомер, например Ч3-57, осциллограф и Си-Би радиостанцию с нужным каналом. Если осциллограф "не видит" сигнал частотой около 27 МГц или с его помощью нельзя измерить уровень сигнала, то потребуется и ВЧ вольтметр со шкалой "~U" от 0,3 В, например А4-М2. Настройку начинают с передатчика. Его переводят в режим непрерывного излучения, соединив с общим проводом коллектор транзистора VT3 и левую (по рис.1) обкладку кварцевого резонатора ZQ1. Подключив осциллограф к эмиттеру транзистора VT5, визуально оценивают частоту задающего генератора. Если она составляет около 9 МГц (27/3), то установленный резонатор относится к гармониковым и указанная на его корпусе частота является третьей гармоникой основного резонанса. Лучше заменить его резонатором, возбуждающимся на основной частоте. Если использовать гармониковый резонатор, то индуктивность катушки L1 нужно увеличить примерно в девять раз, т. е. число витков должно быть в три раза больше. Затем к катушке L3 подключают антенный эквивалент - нагрузку сопротивлением 50 Ом и ВЧ вольтметр. Подстройкой катушки L2 настраивают выходной контур L2C11 по максимуму показаний вольтметра. Убрав перемычку, соединяющую с общим проводом вывод кварцевого резонатора (включив тем самым частотный модулятор), убеждаются в том, что генератор продолжает работать и подстройкой катушки L1 приводят его частоту точно к рабочей. Частотомер при этом подключают к антенной нагрузке передатчика. Сигнал микрофона нетрудно привести к нужному уровню резистором R2 или изменением коэффициента усиления каскада на операционном усилителе DA1 (k=R5/R4). Шунтированием резистора R5 усиление тракта уменьшают, а шунтированием R4 - увеличивают. Контролируют усиление микрофонного усилителя (уровень модуляции) по НЧ сигналу на выходе контрольного приемника. Он должен иметь достаточную громкость, но не "вылетать" из канала, что обычно сопровождается сильными искажениями. Постоянное напряжение на выходе DA1 должно быть в пределах 2,5...3,5 В. Если оно меньше 2 В, его увеличивают, шунтируя конденсатор С3 резистором, близким по сопротивлению к R5. Постоянное напряжение на выводе 6 DA1 должно оставаться практически неизменным при снижении напряжения питания до 4,5...5 В. Функцию стабилизатора, который фиксирует это напряжение и, соответственно, минимизирует "уход" частоты передатчика при изменении напряжения питания, выполняет транзистор VT1, работающий здесь в режиме генератора тока. Затем проверяют работу "голосового" ключа: убеждаются в том, что резистором R2 можно установить тот или иной акустический порог включения передатчика. В табл. 1 указаны зависимости потребляемого передатчиком тока в режиме передачи Iпер , выходной мощности Рвых , уход частоты несущей ^f и тока дежурного режима Iдеж (модуляция отсутствует, передатчик выключен) от напряжения источника питания Uпит.
Для настройки приемника можно воспользоваться расположенной на расстоянии 1...2 м Си-Би радиостанцией, работающей на антенный эквивалент. Она будет выполнять роль генератора ВЧ. К выводу 5 микросхемы DA1 (выходу ПЧ фильтра) подключают осциллограф (чувствительность - 10 мВ на деление) и настройкой РЧ контуров (включая L4) добиваются максимального уровня сигнала ПЧ. В процессе настройки с увеличением уровня выходного сигнала излучающую станцию отодвигают, и настройку завершают на предельно малом входном сигнале. Фазосдвигающий контур L5С10 приемника настраивают по сигналу корреспондента, работающего в ЧМ: подстроечник катушки L5 оставляют в положении, которому будет соответствовать громкий сигнал наилучшего качества. Зависимость потребляемого приемником тока в режиме дежурного приема Iдеж (УЗЧ закрыт шумоподавителем) и тока рабочего режима Iраб (УЗЧ открыт, прослушиваются шумы свободного канала) от напряжения источника питания Uпит показана в табл. 2. В приемнике без УРЧ Iдеж ниже на 0,7...1,8 мА (при Uпит 5...10 В).
Радиостанция работает с любой 50-омной антенной приемлемой длины, например, от радиостанции Dragon SY-101 (длина 23 см, разъем типа СР-50). Годятся и самодельные антенны (см. статью Г. Минакова, М. Федосова, Д. Травинова "Радиостанция "Колибри" в "Радио", 1999. Но во всех случаях рекомендуется соединять фольгу общего провода платы (лучше - в точке подключения к ней катушки L3 передатчика) с чем-то, что могло бы послужить противовесом в образующейся антенной системе (в обычных "портативках" противовесом служит сам оператор). "Дальнобойность" станции заметно увеличится, если в качестве противовеса использовать отрезок монтажного провода длиной 1...1,5 м. Приемник радиостанции может иметь и собственную антенну. Поскольку к настройке и согласованию приемной антенны предъявляются менее жесткие требования, вполне достаточно простого отрезка монтажного провода длиной 20...30 см. Невысокое энергопотребление радиостанции в режиме передачи позволяет использовать для ее питания малогабаритные и легкие источники небольшой емкости, в том числе и батареи гальванических элементов. Так, при соотношении времени нахождения в дежурном режиме к времени активной работы 10/1 радиостанция с девятивольтным "Корундом" (его габариты 26,5х17,5х48,5 мм, вес 46 г, электрическая емкость 620 мАч) сможет проработать 70...100 ч, а с шестивольтной батареей типа 476А (диаметр 13 мм, высота 25 мм, вес 14 г, емкость 105 мАч) - до 15...20 ч. Годятся, конечно, и перезаряжаемые источники, например, аккумуляторные батареи "Ника" или 7Д-0,125. Окончательное оформление радиостанции зависит от ее назначения. Конструктивно она может быть выполнена в виде единого блока, имеющего лишь выносную микрофонно-телефонную гарнитуру. Но при размещении станции, скажем, в защитном шлеме мотоциклиста, удобнее иметь дело с отдельными ее узлами: передатчиком, приемником, источником питания (основным или резервным), громкоговорителем, микрофоном и др., монтируя каждый из них так, как этого потребуют условия эксплуатации и будет удобно пользователю. Два резистора, которые обычно являются элементами оперативного управления радиостанцией, выполнены подстроечными. Это - резистор R2 (см.рис. 1), которым выставляют порог включения передатчика (под порогом должны остаться посторонние акустические шумы и шорохи), и R6 (см. рис. 2) - порог шумоподавителя, включающего УЗЧ станции лишь при появлении в канале связи несущей достаточно высокого уровня. То или иное положение этих регуляторов выставляют заблаговременно, перед началом работы. Радио №9, 1999 |
В этой радиостанции для высвобождения рук оператора использован "лобовой" прием: переход с приема на передачу обеспечивает система VOX (голосового управления). Естественно, что более подходящим для такого рода связи был бы полный дуплекс - как в обычном телефоне. И эту задачу, по-видимому, можно решить не очень сложными средствами, поскольку проблема забития приемника своим передатчиком минимизирована из-за очень малой мощности передатчика. Редакция с интересом познакомится с вашими экспериментами в этой области, а если они будут удачны, то познакомит с ними и читателей журнала.

Катушка передатчика (рис. 1) L1 имеет 25 витков, намотанных проводом ПЭВШО 0,12 на каркасе диаметром 5 мм, который ввинчивают в плату (рис. 4). Каркас имеет
карбонильный подстроечник М3х9.