Что-то не так?
Пожалуйста, отключите Adblock.
Портал QRZ.RU существует только за счет рекламы, поэтому мы были бы Вам благодарны если Вы внесете сайт в список исключений. Мы стараемся размещать только релевантную рекламу, которая будет интересна не только рекламодателям, но и нашим читателям. Отключив Adblock, вы поможете не только нам, но и себе. Спасибо.
Как добавить наш сайт в исключения AdBlockРеклама
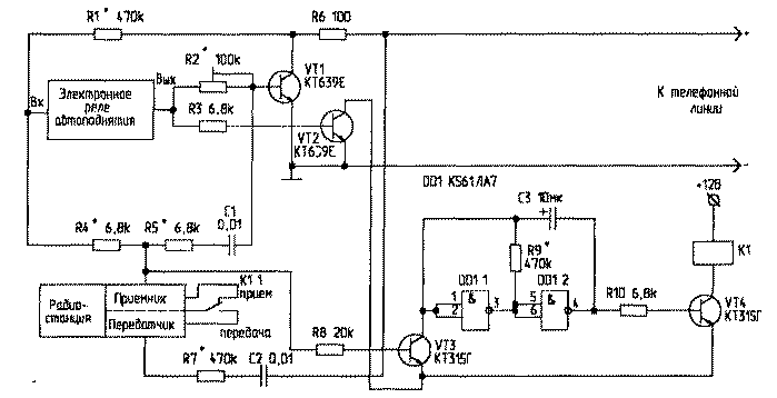
Телефонный интерфейс радиостанции
|
Установка радиостанции в автомобиле стала привычным делом для многих автолюбителей Предлагаемая схема позволяет использовать радиостанции типа "ONWA", "ALAN" не только по своему прямому назначению, но и в качестве радиотелефона, т е появляется возможность выхода через домашний телефон на городскую АТС. Для этого необходимо приобрести вторую радиостанцию и собрать предлагаемую схему (рис 1).
Рассмотрим работу схемы во взаимодействии с радиостанцией и телефонной сетью В дежурном режиме стационарная радиостанция находится в режиме приема. При поступлении сигнала вызова со стороны телефонной линии, вызывное напряжение через резистор R1 подается на вход электронного реле автоподнятия, которое срабатывает и открывает транзистор VT1, чем имитируется поднятие телефонной трубки В дальнейшем режим автоподнятия поддерживается разговорным напряжением. Также при автоподнятии открывается транзистор VT2, и подается питание на мультивибратор на микросхеме DD1, который начинает переключать режим "прием-передача" стационарной радиостанции с интервалом 20 с. Когда радиостанция находится в режиме приема, разговорным напряжением блокируется переключение мультивибратора, и он поддерживает режим приема до окончания разговора со стороны автомобильной радиостанции. Далее радиостанция мультивибратором переводится в режим передачи. Для упрощения схемы это время определяется только параметрами мультивибратора Через 20 с радиостанция снова переходит в режим приема.
Н. МАРТЫНЮК |
