LAB599.RU — интернет-магазин средств связи
EN FR DE CN JP

Радиотелефон из телефона-трубки




Радиотелефон из телефона-трубки

Технические характеристики радиотелефона: Радиус действия 30-100 м Частота передатчика базы 64-73 МГц Частота приЈмника базы 88-108 МГц Частота передатчика трубки 88-108 МГц Частота приЈмника трубки 64-73 МГц Мощность каждого из передатчиков 10 мВт Чувствительность приЈмников 1 мкВ/м Частота управляющего сигнала 2925 Гц Девиация частотной модуляции 50 кГц Напряжение питания трубки 9 В Напряжение питания базовы ~220 В Потребление трубки в режиме ожидания 8 мА

  Радиотелефон предназначен для подключения к обычной телефонной линии и к электросети. В его состав входит базовый блок, который и подключается к линии, и переносной телефон-трубка с номеронабирателем. Связь между базовым блоком и телефоном-трубкой беспроводная при помощи двух радиоканалов в диапазоне 64-73 МГц и 88-108 МГц. Радиотелефон не предназначен для использования в полевых или автомобильных условиях, он имеет небольшой радиус действия , и его назначение "отвязать" абонента от телефонной розетки и позволить ему перемещаться вместе с трубкой в пределах квартиры, небольшой фирмы, или частного дома с не очень большим участком. За основу переносного блока взят простейший телефон-трубка китайского производства. Все детали, связывающие его с линией удалены, включая комбинированный разговорно-импульсный усилитель. Оставлен рычажный переключатель, электродинамический приЈмный капсюль , и схема номеронабирателя с микросхемой, кнопками и цепями питания. Печатная плата телефона-трубки остается, с неЈ только удаляются ненужные элементы,

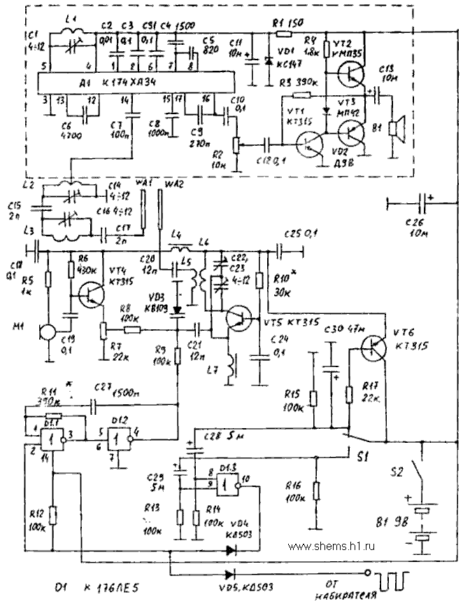
  Принципиальная схема переносного блока показана на рисунке 1. Она состоит из трех функциональных узлов (не считая номеронабирателя, который уже в телефоне имеется): УКВ ЧМ радиоприЈмник на микросхеме А1, УКВ ЧМ передатчик на транзисторах VT4, VT5, и узел управления на микросхеме D1 и транзисторе VT6. Чувствительность приЈмников при сигнал/шум не менее 10 дБ - не хуже 1 мкВ/м.

 Схема радиотелефона

  РадиоприЈмник выполнен на микросхеме К174ХА34. Выбор обусловлен тем, что эта микросхема имеет высокую чувствительность при низком напряжении питания и низком токе потребления. Второй вариант телефона-трубки был сделан по той же схеме , но с использованием радиоприЈмного тракта от дешевого карманного УКВ ЧМ радиоприЈмника китайского или индийского производства (точно установить не удалось, но ясно было что не Япония и не Южная Корея). Судя по всему этот тракт был выполнен на микросхеме, подобной К174ХА34, потому, что был всего один контур и минимум навесных элементов. Для того чтобы перенести тракт в телефон-трубку, разводку его платы пришлось перекопировать на новую плату трубки, и затем аккуратно перепаять микросхему и сопутствующие элементы. В прочем, можно использовать практически любой УКР ЧМ тракт с достаточной чувствительностью и минимальными габаритами, даже на базе УПЧЗ-2, но в этом случае ток потребления сильно возрастает. И совсем не обязательно, чтобы в базовом блоке был такой же тракт как в переносном.

  Сигнал от витой антенны WA1 поступает через фильтр-пробку L3 С16, который заграждает путь сигналу от передатчика, на входной контур на L2 С14. Затем сигнал обрабатывается микросхемой А1 и низкочастотный сигнал с еЈ выхода поступает через регулятор громкости R2 на усилитель 3Ч на транзисторах VT1-VT3. УЗЧ выполнен по известной двухкаскадной схеме с двухтактным выходом на германиевых транзисторах. На выходе УЗЧ включен электродинамический капсюль от телефона-трубки.

  Собственно передатчик выполнен на транзисторе VT5 по однокаскадной схеме. Частота несущей определяется параметрами контура L6 С22 С23 С21 VD3. Модуляция выполняется изменением емкости варикапа VD3, который входит в состав этого контура. Для передачи речи используется электретный микрофон от магнитофонов. Дело в том, что в телефоне-трубке был использован в качестве микрофона такой же капсюль, как и для приЈма. В данном случае он обеспечивал невысокое качество и требовал дополнительных усилительных каскадов. Сигнал от микрофона усиливается эмиттерным повторителем на VT4. На варикап VD3 поступает через делитель из R7 и R8.

  Питание на передатчик поступает через ключевой каскад на транзисторе VT6, который открывается при снятии трубки. В это время переключатель S1 устанавливается в показанное на схеме положение. Благодаря конденсатору С30, после того как трубку положат, питание на передатчик поступает еще в течении нескольких секунд, позволяя ему передать сигнал отбоя.

  Для передачи информации о состоянии рычажного переключателя трубки (положения - "трубка снята" и "трубка повешена") и сигналов набора номера, практически для управления импульсным ключом базового блока, используется обычная одноканальная система радиоуправления с частотным кодированием, вроде той, что используется в системах радиоуправления моделями. Сигнал кодовой частоты 2925 Гц формируется мультивибратором на элементах D1.1, D1.2 . Запускается он подачей нулевого уровня на вывод 2 элемента D1.1. Когда нужно передать сигналы набора номера, на этот вывод поступают отрицательные импульсы от микросхемы-номеронабирателя телефона-трубки. Дли передачи сигналов"трубка снята" и "трубка повешена". на этот вывод поступают более длительные импульсы. Формируемые элементом D1.3. При снятии трубки переключатель S2 устанавливается в показанное на схеме положение. При этом конденсатор С28 начинает заряжаться через резистор R14 . В течении времени зарядки этого конденсатора, на выходе D1.3 присутствует низкий логический уровень, и в результате все это время мультивибратор работает. Для того, чтобы базовый блок переключился в состояние "снятой трубки" требуется длительность импульса около 1 сек. Как только трубку опускают, переключателе S1 переводится в противоположное положение, и теперь такой же импульс на выходе D1.3 формируется временем зарядки С29 через R13. С28 в это время разряжается через R15

  В результате схема работает так: как только вы поднимаете трубку, в эфир излучается сигнал промодулированный пачкой импульсов, частотой 2925 Гц, которая длится около 1 сек. Затем вы набираете номер и сигнал модулируется последовательностью более коротких пачек. Когда вы разговариваете сигнал модулируется 3Ч от микрофона, и когда трубку опускают, сигнал снова модулируется пачкой, длительностью около 1 сек.

  Специального вызывного устройства в трубке нет, базовый блок генерирует сигнал, модулированный частотой 1000 Гц, который воспроизводится капсюлем В1. В тоже время и базовый блок вырабатывает аккустический сигнал встроенным пьезоэлектрическим зуммером.

  Детали схемы по рисунку 1 монтируются на одной печатной плате из одностороннего фольгированного стеклотекстолита. Плата располагается в верхней части трубки, в пространстве между приЈмным капсюлем В1 и задней стенкой. РЧ тракт приЈмника экранируется латунной "П" образной пластиной, отмеченной на рис. 2 пунктиром, в ней просверлены отверстия под подстроечные конденсаторы

  На верхней торцевой части трубки устанавливаются две витые антенны. В качестве каркасов для них используются корпуса одноразовых фломастеров диаметром 5-6 мм и длиной 100 мм. Они наматываются проводом ПЭВ 0,5 по 15 витков с шагом в 6 мм. Затем на них натягиваются мягкие полихлорвиниловые трубки черного цвета. Расстояние между антеннами - 40 мм.

  В предлагаемой конструкции использованы следующие детали. Все постоянные резисторы - МЛТ 0,125, переменный резистор регулировки громкости типа СП3-3 с выключателем и торцевой ручкой (используются в качестве регуляторов громкости карманных приЈмников). Подстроечный резистор -СП4а. Подстроечные конденсаторы керамические КПК, постоянные КГ, КД, KM, K10-7, электролитические К53-14 Стабилитрон КС147 можно заменить на КС133, вместо варикапа можно тоже использовать стабилитрон на напряжение более 9 В (например Д814Д). Микросхему К176ЛЕ5 можно заменить на К561ЛЕ5. Транзисторы с любыми буквенными индексами, Микрофон МКЭ-3, или другой с встроенным усилителем.

  Катушки L1, L2, L3, L5, L6 бескаркасные. Они наматываются на оправках диаметром 3 мм, которые затем удаляются, L1 содержит 13 витков, L2 - L3 витков с отводом от 3-го, L3 содержит 7 витков. Для намотки используется провод ПЭВ 0,35 L6 - 5 витков. L5 - 2 витка провода ПЭВ 0,35. Дроссели L7 и L4 наматываются на постоянных резисторах МЛТ 0.125, и содержат по 60 витков провода ПЭВ 0,12.

  При монтаже трубки вывод 1 микросхемы номеронабирателя нужно соединить через последовательно включенные диод КД503 и резистор на 10 кОм с точкой соединения R15 и R17, а вывод 17 через резистор на 47 кОм с точкой соединения R16 С29. С общим проводом нужно соединить соединенные вместе выводы 2, 6, 10, 11. Импульсный сигнал снимать с 18-го вывода (данные для микросхемы KS5805A).

  Настройку радиоприЈмного тракта нужно начать с установки напряжения на эмиттерах VT2 VT3, равного половине напряжения питания, подбором R3. Затем нужно выпаять С7 и подпаять кусок провода длиной 10-15 см к выводу 14 А1 и попробовать настроиться на одну из радиостанций диапазона 64-73 МГц вращая ротор С1. Теперь нужно отлаять провод и впаять С7, а затем настроить контур L2 С14 таким образом, чтобы обеспечить уверенный прием этой радиостанции.

  Настройка передатчика сводится к установке частоты несущей в тот участок диапазона 88-108 МГц, в котором в данной местности нет радиостанций, определить это можно по образцовому приЈмнику. И установке максимальной дальности передачи (также по образцовому приЈмнику). Выполняют эту настройку последовательной подстройкой конденсаторов С22 и С23. Подстроечник R7 устанавливают по наилучшему качеству звучания речи , произнесенной перед микрофоном, при прослушивании еЈ через образцовый приЈмник.

  Теперь нужно настроить фильтр-пробку L3 С16 по минимальному прониканию сигнала от передатчика на вход приЈмника.

  Настройка узла управления сводится к установке частоты на выходе мультивибратора 2925 Гц (не обязательно так точно) подбором R11. И подбору R13 и R14 таким образом, чтобы при переключении S1 мультивибратор формировал пачку длительностью в 1 секунду.

  Схема базы радиотелефона

  Принципиальная схема базового блока показана на рисунке 2. РадиоприЈмный тракт выполнен по такой же схеме как и в телефоне-трубке, с той разницей, что тракт настроен на частоту в диапазоне 88-108 МГц, и его выходной УЗЧ заменен на резонансный компаратор на микросхеме А2 и контуре L4 С1б. Как уже отмечалось, схема построена по схеме радиоуправления с частотно-временным разделением каналов. Это значит, что при наборе номера или при снятии или опускании трубки передатчик телефона-трубки излучает в эфир частотномодулироваиный импульс, частота модуляции которого 2925 Гц, а длительность зависит от передаваемой команды (набор номера или "положение трубки"). Контур L4 С16 настроен на эту частоту. В то время когда входной сигнал отсутствует на входы компаратора поступает постоянная составляющая выхода детектора через резисторы R2, R3, R4. В тоже время на инвертирующий вход поступает дополнительное напряжение смещения через резистор R6. В результате на инвертирующем входе напряжение получается несколько больше и на выходе компаратора устанавливается ноль. При поступлении сигнала с частотой настройки контура L4 С16, на катоде диода VD2 появляется положительное напряжение. В результате напряжение на прямом входе оказывается выше чем на инверсном и выход компаратора переходит в единичное состояние. Длительность этого состояния зависит от длительности частотно-модулированного импульса, излученного передатчиком трубки.

  С выхода компаратора положительный импульс поступает на две времязадающие цепи R18 С28 и R17 С27. Если поступает длительный импульс, конденсатор С27 успевает зарядится до единичного уровня и импульс поступает на вход "С" триггера D2. В результате триггер принимает противоположное установленному положению и переводит (при помощи электромагнитного репе Р1, которое заменяет рычажный переключатель) линию в состояние занятости или отбоя. Исходное состояние при включении питания - состояние отбоя, контакты К1 в разомкнутом состоянии. При включении в занятое состояние (снята трубка) контакты К1 замыкаются и к линии подключается разговорно-импульсный каскад на транзисторах VT2, VT3.

  При наборе номера длительность импульсов значительно меньше и С27 заряжаться не успевает поэтому состояние триггера остается неизменным. Короткие импульсы поступают на вход D1, который при помощи диода VD9 уменьшает напряжение смещения на базе транзистора VT2, переводя весь каскад в состояние с малым коллекторным током. Импульсы коллекторного напряжения воспринимаются линией как работа номеронабирателя. После того как номер набран на выходе D1 устанавливается единица, и разговорно-импульсный каскад переходит в состояние с большим током. Теперь его коллекторный ток изменяется в соответствии с речевыми сигналами, поступающими с выхода детектора А1 на его вход через конденсатор С25.

  Для прослушивания вызывного сигнала, разговорных сигналов, поступающих из линии служит передатчик на транзисторе VT1, который выполнен по такой же схеме, что и в трубке, но работает в диапазоне 64-73 МГц. Его ВЧ сигнал модулируется при помощи варикапа VD3. Сигналы 3Ч на него поступают через конденсатор С24, VD4 служит для ограничения амплитуды этих сигналов. Вызывной сигнал, излучаемый трубкой негромкий, поэтому используется дополнительно" вызывное устройство на транзисторе VT5 и пъезоэлементе BQ1. Для питания схемы используется источник 9В состоящий из трансформатора Т1 и выпрямителя на VD13-VD16 с стабилизатором на VT6.

  В конструкции используются постоянные резисторы МЛТ 0,125. Подстроечные конденсаторы КПК, постоянные КД, КТ, К10-7, электролитические К50-14 или К50-35. Стабилитрон VD1 можно заменить на КС133, VD12 на Д816Д, VD4 любой на напряжение 12-31 В или цепь стабилитронов, например два последовательно соединенных Д814Д. Если варикап заменить на стабилитрон, то VD4 должен быть на напряжение не более напряжения стабилизации стабилитрона-варикапа. Микросхемы К561 можно заменить на аналогичные К176. Электромагнитное реле на 12В - РЭС22, такими реле комплектуются наборы для самостоятельной сборки дистанционного управления телевизора (для выключателя питания) Можно использовать и другое реле на 10-12 В и ток не более 60 мА. Пьезоизлучатель от телефона-трубки.

  Катушки L1, L2, L3, L5, L6 бескаркасные, имеют такую же конструкцию как и в "трубке". L1 содержит 7 витков, L2 - 7 с отводом от 2-го, L3 - 13 витков, L6 -10 витков, L5 - 3 витка Дроссель L7 наматывается на постоянном резисторе МЛТ 0,125 сопротивлением более 10 кОм, содержит 60 витков ПЭВ 0,12. Катушка L4 намотана на каркасе от контура ПЧ приемника "ВЭФ-202" с подстроечным сердечником и броневыми чашками (можно использовать СБ-23А с подстроечником). Катушка содержит 270 витков ПЭВ-0,12.

  Для трансформатора использован сердечник Ш-15х23 Первичная обмотка содержит 4400 витков ПЭВ 0,09, вторичная - 230 витков ПЭВ 0,23. Можно использовать любой готовый трансформатор с выходным переменным напряжением 8-12 В и мощностью 10 Вт.

  Настройку базового блока нужно проводить совместно с "трубкой", прошедшей предварительную настройку. Передавая речевой сигнал от трубки нужно настроить на частоту передатчика трубки, контура с катушками L1 и L2. Контролировать сигнал можно при помощи контрольного УЗЧ, на вход которого подавать сигнал ЗЧ с вывода 16 А1 (через конденсатор). Затем нужно отпаять катод диода VD5 (рис.1) от микросхемы номеронабирателя и соединить его с общим проводом. Теперь нужно контролировать осциллографом уровень на выводе 9 А2 и подстройкой L4 и подбором резистора R11 (рис.1) установить такое положение, при котором при соединении катода VD5 (рис. 1) с общим проводом, на выводе 9 А2 устанавливается единица. Теперь нужно восстановить соединение VD5 (рис.1) и установить чувствительность компаратора А2 подбором R5 таким образом, чтобы он уверенно срабатывал при поступлении наборных импульсов и не срабатывал во время разговора. Теперь нужно подобрать номинал R17 таким образом, чтобы уровень на выводе 1 D2 изменялся при нажатии на кнопку рычажного переключателя телефона-трубки и не менялся при наборе номера.

  Настройка разговорно-ключевого узла на VT2 и VT3 сводится к установке напряжение на коллекторах этих транзисторов 7-10 В при отсутствии сигнала от трубки и замкнутых контактах К1, подбором R13. Передатчик настраивают также, как и передатчик трубки. Воспользовавшись образцовым приЈмником выбирают место на шкале диапазона 64-73 МГц, в котором отсутствуют радиостанции, и настраивают конденсаторами С22 и С23 передатчик в это место диапазона. Для удобства настройки имеет смысл на конденсатор С24 подавать сигнал от ГЗЧ, предварительно отключив устройство от телефонной линии. Затем нужно настроить приЈмник трубки на частоту передатчика базового блока подстройкой С1 и С14. Теперь остается настроить контур L3 С10 по максимальному подавлению сигнала от передатчика.

Павлов С.И.
Источник: shems.h1.ru

Партнеры