Что-то не так?
Пожалуйста, отключите Adblock.
Портал QRZ.RU существует только за счет рекламы, поэтому мы были бы Вам благодарны если Вы внесете сайт в список исключений. Мы стараемся размещать только релевантную рекламу, которая будет интересна не только рекламодателям, но и нашим читателям. Отключив Adblock, вы поможете не только нам, но и себе. Спасибо.
Как добавить наш сайт в исключения AdBlockРеклама
Индикатор занятой телефонной линии
|
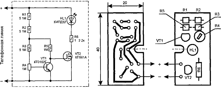
Схема простого индикатора занятой линии предназначена для квартиры, где в комнатах установлено несколько параллельно включенных ТА, и позволяет по свечению светодиода определить, что по одному из, аппаратов идет разговор или не лежит на месте телефонная трубка. В отличие от аналогичных по назначению схем, данная в ждущем режиме от линии потребляет меньший ток при меньшем числе деталей.
Принцип работы индикатора основан на использовании свойства транзистора VT1 при работе в режиме микротоков обеспечивать большой коэффициент усиления. А так как он включен без отрицательной обратной связи, то для перехода из режима насыщения в закрытое состояние требуется небольшое изменение напряжения на коллекторе. При работе схемы в исходном состоянии, когда в ТЛ действует 60 В, транзистор будет находиться в насыщении, т.е. на затворе VT2 не будет напряжения. Как только трубка с аппарата снимается — напряжение в линии падает до 6...15 В, что приводит к запиранию транзистора VT1 и на затвор VT2 с делителя, образованного резисторами R1-R2 и R3-R4, подается напряжение. Его уровень достаточен для открывания VT2. Настраивается схема подстроенным резистором R4 (СПЗ-19а) так, чтобы светодиодный индикатор HL1 переставал светиться при напряжении более 16 В. Интервал свечения индикатора составит 6,4...15 В, что соответствует снятой трубке. Печатная плата легко помещается в стандартном телефонном гнезде или внутри ТА.
|