Что-то не так?
Пожалуйста, отключите Adblock.
Портал QRZ.RU существует только за счет рекламы, поэтому мы были бы Вам благодарны если Вы внесете сайт в список исключений. Мы стараемся размещать только релевантную рекламу, которая будет интересна не только рекламодателям, но и нашим читателям. Отключив Adblock, вы поможете не только нам, но и себе. Спасибо.
Как добавить наш сайт в исключения AdBlockРеклама
Чтобы звонил импортный телефон
|
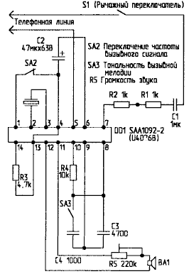
Предлагается доработка вызывной части импортных телефонных аппаратов ("FeTap", "Siemens", "TriTel", "Philips") и их адаптацию к координатным АТС. На АТС координатной системы типа АТСК-100/2000 при вызывном сигнале (звонке) эти аппараты либо не звенят вообще, либо слегка "подзванивают" во время действия напряжения индуктора. Выяснилось, что если частота "индуктора" ниже 30 Гц, эти аппараты не звенят. А частота индуктора на АТСК составляет 25 Гц. При изучении вызывной части ТА выяснилось, что все эти аппараты содержат вызывную микросхему типа SAA1092-2 либо ее аналог фирмы Telefunken U4076B. На АТС европейских стран частота индуктора составляет 50 Гц. Микросхема содержит функцию переключения частоты принимаемого вызывного сигнала (до 30 Гц и выше 30 Гц). В телефонном аппарате у этих микросхем вывод 1 не задействован, что соответствует частоте вызывного сигнала 50 Гц. При доработке ТА автор соединил вывод 1 микросхемы с выводом 4 (общий провод). После этого аппарат стал звонить нормально в любое время и на любой АТС координатной системы. Автор доработал более 30 аппаратов, и все они работают нормально. На схеме вызывной части ТА доработка - это кнопка SA2. При разомкнутой кнопке ТА работает с индуктором с частотой более 30 Гц, а при замкнутой - менее 30 Гц. И. ШМОРГУН |
Чтобы звонил импортный телефон