LAB599.RU — интернет-магазин средств связи
EN FR DE CN JP
QRZ.RU > Каталог схем и документации > Схемы наших читателей > Дайджест радиосхем > Подключения диктофона для записи телефонных переговоров

Подключения диктофона для записи телефонных переговоров




Подключения диктофона для записи телефонных переговоров

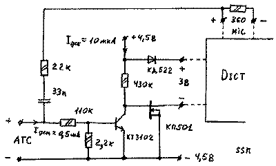
  Схема разработана по принципу чем проще тем надЈжнее, хотя имеет и ряд недостатков которые легко устранимы за счЈт еЈ усложнения (например, на входе можно поставить диодный мост). Основное еЈ достоинство - паралельное включение с ТА и низкое потребление от акумуляторов (10 мка) в дежурном режиме. Работает с любым 3х вольтовым "китайским" диктофоном потребляющим не более 200 ма в режиме записи, разборка диктофона не требуется - всЈ подключается внешне.

 Подключения диктофона для записи телефонных переговоров

  Возможно при наличии фона понадобится зашунтировать сток-исток полевого транзистора конденсатором, но в моЈм варианте этого не понадобилось, всЈ и так хорошо работает. Питание АТС - 60 вольт, но должно работать и при 48B. Сопротивление телефона по постоянному току должно быть 800-600 Ом или ниже, потребление тока от АТС 0,5 ма (норма 1-2 ма), источик питания ни в коем случае не следует заземлять - в моЈм варианте схема питается от 3 элементов AAA, при запитки от 3х акумуляторов диод следует исключить или заменить на германевый.

Смирнов Сергей
г. Череповец
ssn (at) ctd.stal.ru

Источник: shems.h1.ru

Партнеры