Что-то не так?
Пожалуйста, отключите Adblock.
Портал QRZ.RU существует только за счет рекламы, поэтому мы были бы Вам благодарны если Вы внесете сайт в список исключений. Мы стараемся размещать только релевантную рекламу, которая будет интересна не только рекламодателям, но и нашим читателям. Отключив Adblock, вы поможете не только нам, но и себе. Спасибо.
Как добавить наш сайт в исключения AdBlockРеклама
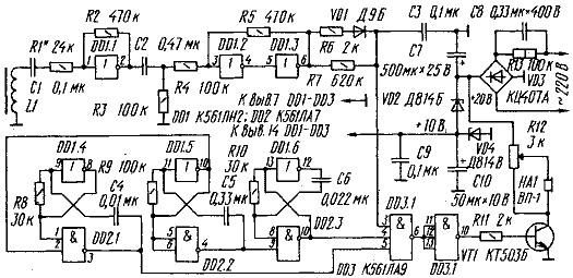
Сигнализатор звонка с мелодичным звучанием
|
Эта приставка позволяет заменить резкий звук звонка приятной мелодичной соловьиной трелью. Обратимся к принципиальной схеме, ее можно взять здесь. Входная часть сигнализатора (датчик, усилитель и формирователь) аналогична соответствующим каскадам предыдущей. На элементах R6, R7, VD1, С3 выполнен фильтр, преобразующий пульсирующее напряжение в постоянное. На логических элементах DD1.4 и DD2.1, DD1.5 и DD2.2, DD1.6 и DD2.3 выполнены генераторы, вырабатывающие частоты соответственно 1000, 10, 500 Гц (примерно). Суммарный сигнал имитирует пение соловья. С выхода логического элемента DD3.2 звуковой сигнал поступает на ключевой усилитель, в котором работает транзистор VT1. Нагрузкой последнего служит переменный резистор R12, с которого снимается сигнал на звуковой излучатель НА1. Элементы сигнализатора питаются от сети через конденсатор С8, выполняющий функцию балластного сопротивления (емкостное сопротивление этого конденсатора переменному току частотой 50 Гц составляет около 10 кОм). Резистор R13 обеспечивает разрядку конденсатора после выключения устройства из сети. Напряжения для питания микросхем и звукового излучателя снимаются со стабилитронов VD3 и VD2; конденсаторы С7 и С10 сглаживают пульсации выпрямленного напряжения; конденсатор С9 повышает помехоустойчивость сигнализатора. Звуковой излучатель ВП-1 (НА1) можмо заменить на ДЭМШ-1А, ТК-47 или любой другой с сопротивлением обмотки постоянному току 60...200 Ом. Остальные типы элементов и их возможные замены - те же, что и в предыдущем устройстве. А. Евсеев |