Что-то не так?
Пожалуйста, отключите Adblock.
Портал QRZ.RU существует только за счет рекламы, поэтому мы были бы Вам благодарны если Вы внесете сайт в список исключений. Мы стараемся размещать только релевантную рекламу, которая будет интересна не только рекламодателям, но и нашим читателям. Отключив Adblock, вы поможете не только нам, но и себе. Спасибо.
Как добавить наш сайт в исключения AdBlockРеклама
Антенный услилитель ДМВ
|
Для усиления сигналов ТВ-программ, транслируемых в ДМВ-диапазоне, используют антенные усилители. Однако большинство описанных конструкций имеют фиксированный коэффициент усиления и в ряде случаев не подходят для использования при приеме сигналов с различными уровнями. Для пояснения достаточно отметить, что в крупных городах вещание ТВ-программ производится разными студиями, разнесенными по направлениям от места приема. При этом программы транслируются с разными мощностями и зачастую с весьма низким подвесом передающих антенн. В такой ситуации усилитель, имеющий высокий коэффициент усиления, будет перегружаться сигналами сильного канала, входя в режим ограничения, что делает невозможным прием этих каналов при качественном приеме сигналов слабых каналов. Использование же усилителей с более низким коэффициентом усиления приводит к снижению качества принимаемых программ со слабым уровнем сигнала. Поэтому на практике довольно трудно, а иногда практически невозможно подобрать антенный усилитель с оптимальным коэффициентом усиления. Использование нескольких усилителей экономически невыгодно вследствие увеличения расходов на дополнительные кабели снижения и коммутационные устройства. Единственным логически правильным решением является применение усилителей с регулируемым коэффициентом усиления.
Подобный усилитель представлен на рис.1. Он собран на двухзатворном полевом транзисторе VT1, предназначенном для усиления сигналов с частотами до 25 ГГц. На ДМВ-диапазоне он обеспечивает усиление до 25 дБ при Кш не более 0,6 дБ! Хотя, в принципе, не рекомендуется использование данного типа транзисторов на частотах ниже 1 ГГц, экспериментально подтверждена его работа в ДМВ-диапазоне при устранении всех причин, которые могут привести к самовозбуждению.
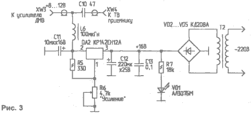
Конструктивно усилитель собран на печатной плате из двустороннего фольгированного стеклотекстолита толщиной 2 мм, чертеж которой приведен на рис.2. Элементы — бескорпусные, смонтированы SMD-методом. Если используются обыкновенные элементы, необходимо максимально укоротить их выводы во избежание создания в схеме паразитных индуктивнос-тей. Плата устанавливается в дюралюминиевый корпус, в торцах которого установлены два "Г"-разъема (XW1, XW2). Схема инжектора питания изображена на рис.3.
Трансформатор Т1 наматывается на ферритовом кольце марки 10 ВЧ К7х4х1,5. Т2 — любой малогабаритный, сетевой, с выходным напряжением 14...16 В. L1 — ферритовая бусинка, одетая на стоковый вывод VT1. L2, L6 — стандартные, a L3...L5 — бескаркасные, которые имеют по 16 витков провода ПЭВТЛ-1 0,31 мм, намотанных на оправке 2,7 мм. VT1 можно заменить на КП327А, при этом сильно снизится коэффициент усиления и повысится коэффициент шума усилителя. Инжектор собирают в корпусе от сетевого вилки-адаптера. Налаживание начинают с проверки инжектора питания. Контролируя напряжение на XW3, убеждаются в том, что оно изменяется в пределах 8...12 В при регулировке R6. Подключив усилитель к кабелю снижения, измеряют ток стока VT1 (около 5 мА). Для контроля настройки желательно иметь маломощный "маячок" — ВЧ-генератор на частоту 500...600 МГц, сигналы которого промодулированы по амплитуде импульсами бело-черного перепада (меандром частотой 15625 Гц). Подключив ко входу усилителя антенну с симметрирующим устройством, поднося и удаляя "маячок", добиваются регистрации сигнала на ТВ-приемнике. Если сигнал слабый, регулировкой R6 пытаются усилить его. Окончательную настройку усилителя проводят, установив антенну в рабочее положение. Плату усилителя тщательно герметизируют. И в заключение отмечу, что усилитель с антенной нужно устанавливать на заземленную мачту (металлическую), снабженную молниеотводом. Данная предосторожность предотвратит выход из строя VT1, который очень чувствителен к воздействию статического электричества. В. ФЕДОРОВ |
Сигнал с антенны через симметрирующее устройство поступает на вход усилителя (XW1). ФВЧ L4-L5-C1 "срезает" во входном сигнале частоты ниже 400 МГц для предотвращения перегрузки сигналами мощных радиовещательных станций и согласует входной импеданс (75 Ом) с входным сопротивлением VT1. На второй затвор VT1 подается опорное напряжение, от величины которого зависит его усиление. Это напряжение подается по кабелю снижения от инжектора питания. L1 препятствует самовозбуждению VT1 на низких частотах, а Т1 согласует выходное сопротивление VT1 с импедансом фидера снижения (75 Ом). DA1 стабилизирует инжектируемое в фидер напряжение, от которого питается VT1. ФНЧ L2-L3-C8-C9 препятствует проникновению в цепи питания и регулировки усиления ВЧ-сигналов.