LAB599.RU — интернет-магазин средств связи
EN FR DE CN JP
QRZ.RU > Каталог схем и документации > Схемы наших читателей > Дайджест радиосхем > Проводное ДУ к СВП-4 с увеличением числа каналов

Проводное ДУ к СВП-4 с увеличением числа каналов




Проводное ДУ к СВП-4 с увеличением числа каналов

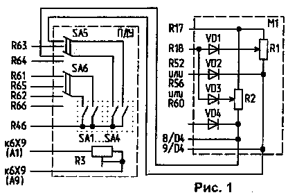
 Проводное ДУ   Владельцы ТВ с устройством выбора программ типа СВП-4 (и его модификаций) могут увеличить число принимаемых телеканалов до 10 путем несложной доработки СВП при использовании проводного ПДУ. Приведенная схема (рис.1), рассчитанная на 8 каналов, успешно работает совместно с СВП-4-5 (ЗУСЦТ) более 5 лет и не влияет на работу СВП в штатном режиме. Схема содержит модуль М1 и ПДУ. Выбор одного из 8 каналов осуществляется микровыключателями SA1...SA4 в зависимости от положения переключателей SA5, SA6. Регулировка громкости в небольших пределах осуществляется регулятором R3.

  Так как в модуле М1 отсутствуют индикаторы, которые при желании можно установить, то при включении 7-го и 8-го каналов загорается соответственно индикация 2 и 6 каналов, что является некоторым неудобством.

 Проводное ДУ   Доработка СВП заключается в разрыве соединения выводов 8, 9 и 10, D4. Модуль М1 смонтирован на отдельной плате внутри ТВ. Подключение VD2, VD4 осуществляется к одному из резисторов R52, R56, R60 - в зависимости от выбранного диапазона. Регулятор R3 включается в разрыв между контактами 6 разъемов Х9(А1) и Х9(А9). Настройка 7-го и 8-го каналов осуществляется аналогично первым шести каналам с помощью R1, R2 при выключенной АПЧГ. Вместо сдвоенных переключателей SA5, SA6 можно использовать одиночные микровыключатели, аналогичные SA1...SA4 (рис.2). Если количество принимаемых телеканалов превышает 8, количество каналов можно увеличить до 10, собрав еще один модуль М1. При этом надо соединить вывод 11 D2 с выводом 4 D4, предварительно отсоединив вывод 4 D4 от "земли" (для СВП-4-5, СВП-4-6, СВП-4-7).

  Модуль М1 выполнен на куске фольгированного гетинакса, размер которого зависит от размера устанавливаемых деталей, навесным монтажом. ПДУ выполнено в пластмассовом футляре от зубной щетки (180х25х25 мм) с установкой SA1...SA6 и R3 в прорезях верхней крышки футляра. Для удобства SA1...SA4 размещаются попарно. SA5, SA6 - малогабаритные переключатели МТ-3; SA1 ...SA4 - микровыключатели МТЗ-1; R1, R2 - 100К, любого типа; VD - Д220Б; R3 - желательно СПО-0,5 (чтобы поместилось в футляре). Соединение ПДУ с ТВ осуществляется проводом МГТФ небольшого диаметра необходимой длины.

  Литература:
1. Соколов B.C. Устройства электронного выбора программ телевизоров. -М, 1992.
2. Ельяшкевич С.А. Цветные телевизоры ЗУСЦТ. - М, 1990.

Р. ЯРЕШКО
г.Харьков
РЛ №5, 1999

Источник: shems.h1.ru

Партнеры