Что-то не так?
Пожалуйста, отключите Adblock.
Портал QRZ.RU существует только за счет рекламы, поэтому мы были бы Вам благодарны если Вы внесете сайт в список исключений. Мы стараемся размещать только релевантную рекламу, которая будет интересна не только рекламодателям, но и нашим читателям. Отключив Adblock, вы поможете не только нам, но и себе. Спасибо.
Как добавить наш сайт в исключения AdBlock
QRZ.RU > Технические справочники > Справочники по микросхемам и п/п приборам > Справочник по биполярным транзисторам
Реклама
Справочник по биполярным транзисторам
|
|
|
|
|
|
|
|
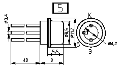
1Т101, 1Т102 |
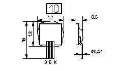
КТ104, КТ208, КТ301, КТ302, ГТ305, ГТ309 |
ГТ108, ГТ115, ГТ124 |
ГТ109, ГТ310 |
1Т116, ГТ122, ГТ125 |
КТ117 |
КТ118 |
КТ119 |
КТ120, 2Т126-1, КТ206, КТ307, КТ354, КТ380, КТ3134-1 |
КТ127-1, КТ331-1, КТ332-1 |
КТ201, КТ203, КТ313, КТ316, КТ326, КТ327, КТ340, КТ342, КТ343, КТ347, КТ349, КТ351, КТ352, КТ363, КТ3102, КТ3108, КТ3117, КТ3142, КТ3175, КТ616 |
КТ202, КТ211-1, 2Т317-1, КТ318 |
2Т205 |
КТ207, КТ210, КТ333, КТ348, КТ359, КТ379 |
КТ201-М, КТ209, КТ316-М, КТ337, КТ349-М, КТ345, КТ350, КТ351, КТ352, КТ363-М, КТ368-М, КТ375, КТ399-М, КТ3102-М, КТ3107, КТ3117-1, КТ3128-1, КТ502, КТ503, КТ632-1, КТ638, КТ645, КТ660, КТ668, КТ680, КТ681, КТ685, КТ686 |
|
|
|
|
|
|
|
|