Что-то не так?
Пожалуйста, отключите Adblock.
Портал QRZ.RU существует только за счет рекламы, поэтому мы были бы Вам благодарны если Вы внесете сайт в список исключений. Мы стараемся размещать только релевантную рекламу, которая будет интересна не только рекламодателям, но и нашим читателям. Отключив Adblock, вы поможете не только нам, но и себе. Спасибо.
Как добавить наш сайт в исключения AdBlockРеклама
КР1016ПУ1 - аналого-цифровая схема управления ЖКИ
| Навигатор: QRZ.RU > Радиолюбительская справочники > Справочник по отечественным микросхемам |
Корпус КР1016ПУ1
Условное графическое обозначение КР1016ПУ1
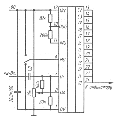
Схема включения
Электрические параметры
Предельно допустимые режимы эксплуатации
Зарубежные аналоги
Литература
Микросхема представляет собой аналого-цифровую схему управления индикатором уровня записи-воспроизведения в аппаратуре магнитной записи. Стабильность и точность характеристики преобразования определяется стабильностью и точностью задания напряжения смещения. ИС позволяет использовать для индикации светодиоды (вывод 14 соединяется с катодом, а выводы 15...24 с анодами через R = 2 кОм). Корпус типа 2120.24-3, масса не более 6 г.
Корпус КР1016ПУ1
Условное графическое обозначение
|
        1 - общий;         2 - пиковое значение (данные);         3 - среднее значение (данные);         4 - выход АЦП (данные);         5 - синхронизация;         6 - ручной или автоматический режим;         7 - входное напряжение;         8 - напряжение смещения;         9 - такт;         10 - выход генератора;         11 - вход генератора;         12 - напряжение питания;         13 - опорный сигнал;         14 - сигнал гашения фона;         15 - уровень сигнала -20 дБ;         16 - уровень сигнала -15 дБ;         17 - уровень сигнала -10 дБ;         18 - уровень сигнала -5 дБ;         19 - уровень сигнала -3 дБ;         20 - уровень сигнала -1 дБ;         21 - уровень сигнала 0 дБ;         22 - уровень сигнала 1 дБ;         23 - уровень сигнала 3 дБ;         24 - уровень сигнала 5 дБ; |
Электрические параметры
| 1 | Номинальное напряжение питания |
-9 В |
| 2 | Выходное напряжение низкого уровня     по выводам 13,14     по выводам 15...24     по выводам 2...5,9,10 |
  не менее 9,6 В не менее 6 В не менее 5 В |
| 3 | Выходное напряжение высокого уровня     по выводам 13,14 при Сн=10000 пФ     по выводам 15...24 при Сн=1100 пФ     по выводам 2...5,9,10 при Сн=150 пФ |
  не более 0,35 В не более 0,35 В не более 3 В |
| 4 | Ток потребления | не более 3000 мкА |
| 5 | Напряжение смещения | 1,5...6 В |
Предельно допустимые режимы эксплуатации
| 1 | Напряжение питания | -6,3...-9,9 В |
| 2 | Максимальное входное напряжение высокого уровня | 0,8 В |
| 3 | Максимальное входное напряжение низкого уровня | 9,9 В |
| 4 | Максимальная емкость нагрузки     по выводам 13,14     по выводам 15...24     по выводам 2...5,9 |
  10000 пФ 1100 пФ 150 пФ |
| 5 | Частота следования импульсов тактовых сигналов | 36...44 кГц |
| 6 | Температура окружающей среды | -10...+70 ° C |
Зарубежные аналоги
XR2278
Литература
Интегральные микросхемы и их зарубежные аналоги: Справочник. Том 7./А. В. Нефедов. - М.:ИП РадиоСофт, 1998г. - 640с.:ил.
Отечественные микросхемы и зарубежные аналоги Справочник. Перельман Б.Л.,Шевелев В.И. "НТЦ Микротех", 1998г.,376 с. - ISBN-5-85823-006-7
| Навигатор: QRZ.RU > Радиолюбительская справочники > Справочник по отечественным микросхемам |