Что-то не так?
Пожалуйста, отключите Adblock.
Портал QRZ.RU существует только за счет рекламы, поэтому мы были бы Вам благодарны если Вы внесете сайт в список исключений. Мы стараемся размещать только релевантную рекламу, которая будет интересна не только рекламодателям, но и нашим читателям. Отключив Adblock, вы поможете не только нам, но и себе. Спасибо.
Как добавить наш сайт в исключения AdBlockРеклама
КР1016ВИ1 - программируемый таймер
| Навигатор: QRZ.RU > Радиолюбительская справочники > Справочник по отечественным микросхемам |
Корпус КР1016ВИ1
Условное графическое обозначение КР1016ВИ1
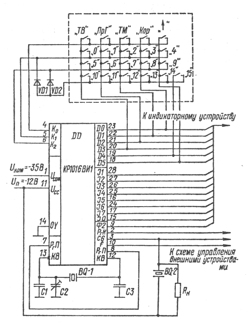
Схема включения КР1016ВИ1
Электрические параметры
Предельно допустимые режимы эксплуатации
Зарубежные аналоги
Литература
Микросхема представляет собой программируемый таймер с формировотелем звукового сигнала, предназначенный для автоматизации различной аппаратуры (магнитофоны, телевизоры, микрокалькуляторы, контроллеры и др.). Обеспечивает выдачу информации о текущем времени в часах и минутах, в 8-сегментнов коде на вакуумно-люминисцентном индикаторе, а также о номерах в режиме работы таймера. Таймер осуществляет запись и хранение времени по шестнадцати программам с периодом программирования семь суток. Содержит 6821 интегральный элемент. Корпус типа 2121.28-5, масса не более 7 г.
Корпус КР1016ВИ1
Условное графическое обозначение
|
        1 - напряжение питания индикации (-35 В);         2 - выход регистра канала;         3 - выход сигнала будильника;         4...6 - входы клавиатуры;         7 - вход регистра памяти;         8 - выход регистра памяти;         9 - тактовые импульсы (8,192 кГц);         10 - выход генератора (32,768 кГц);         11 - напряжение питания;         12 - выход кварцевого генератора;         13 - вход кварцевого генератора;         14 - общий;         15 - выход сегментов 1, Вкл., ПРГ., Тайм.;         16 - выход сегментов д, суббота;         17 - выход сегментов ж, воскресенье;         18 - разряд "номер канала";         19 - разряд дней недели;         20 - разряд десятков часов;         21 - разряд едениц часов;         22 - разряд десятков минут;         23 - разряд едениц минут;         24 - выход сегментов е, пятница;         25 - выход сегментов г, четверг;         26 - выход сегментов в, вторник;         27 - выход сегментов б, среда;         28 - выход сегментов а, понедельник; |
Электрические параметры КР1016ВИ1
| 1 | Номинальное напряжение питания |
-12 В |
| 2 | Выходное напряжение низкого уровня     по выводам 15...28     по выводам 2,3     по выводам 8...10 |
  -8 В -2,5 В -10 В |
| 3 | Выходное напряжение высокого уровня     по выводам 15...28     по выводам 2,3     по выводам 8     по выводам 9,10 |
  -30 В -8 В -5 В -9,5 В |
| 4 | Ток потребления | не более 1,7 мА |
| 5 | Входной ток низкого уровня | не более 480 мкА |
| 6 | Входной ток высокого уровня | не более 5 мкА |
| 7 | Частота кварцевого генератора | 32,768 кГц |
Предельно допустимые режимы эксплуатации КР1016ВИ1
| 1 | Напряжение питания | -10,8...-13,2 В |
| 2 | Максимальное напряжение питания индикации | -40 В |
| 3 | Максимальное входное напряжение высокого уровня     по выводам 4,5,6     по выводам 8,12 |
  -40 В Uп В |
| 4 | Максимальное входное напряжение низкого уровня     по выводам 4,5,6     по выводам 7,13 |
  Uп-3 В -40 В |
| 5 | Максимальное сопротивление нагрузки     по выводу 9     по выводу 8 |
  1000 кОм 100 кОм |
| 6 | Максимальная емкость нагрузки     по выводам 9,10     по остальным выводам |
  200 пФ 300 пФ |
| 7 | Температура окружающей среды | -10...+70 ° C |
Зарубежные аналоги
MN1435
Литература
Интегральные микросхемы и их зарубежные аналоги: Справочник. Том 7./А. В. Нефедов. - М.:ИП РадиоСофт, 1998г. - 640с.:ил.
Отечественные микросхемы и зарубежные аналоги Справочник. Перельман Б.Л.,Шевелев В.И. "НТЦ Микротех", 1998г.,376 с. - ISBN-5-85823-006-7
| Навигатор: QRZ.RU > Радиолюбительская справочники > Справочник по отечественным микросхемам |