LAB599.RU — интернет-магазин средств связи
EN FR DE CN JP
QRZ.RU > Технические справочники > Справочник по отечественным микросхемам. > Параметры интегральных микросхем 1022 серии > КР1022ЕП1 - Устройство управления и стабилизации частоты вращения вала низковольтных коллекторных микродвигателей постоянного тока с возбуждением от постоянных магнитов.

КР1022ЕП1 - Устройство управления и стабилизации частоты вращения вала низковольтных коллекторных микродвигателей постоянного тока с возбуждением от постоянных магнитов.

Навигатор: QRZ.RU > Радиолюбительская справочники > Справочник по отечественным микросхемам

Корпус КР1022ЕП1
Функциональная схема КР1022ЕП1
Электрическая схема КР1022ЕП1
Типовые рабочие характеристики КР1022ЕП1
Схема включения
Реализация КР1022ЕП1 в магнитофоне "Электроника М-401С
Электрические параметры
Предельно допустимые режимы эксплуатации
Зарубежные аналоги
Литература


Микросхема КР1022ЕП1 представляет собой устройство управления и стабилизации частоты вращения вала низковольтных коллекторных микродвигателей постоянного тока с возбуждением от постоянных магнитов. Выполнена по планарно-эпитаксиальной технологии с изоляцией элементов p-n переходом. Содержит 39 интегральных элементов. Корпус типа 2101.8-1, маса не более 1 г.



Корпус КР1022ЕП1

2101.8-1 package view



















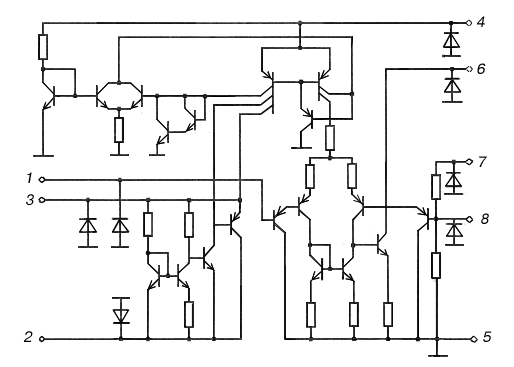
Функциональная схема КР1022ЕП1

Функциональный состав:
A - дифференциальный усилитель
B - источник опорного напряжения
C - источник тока
D - каскад запуска

Условное графическое обозначение

Назначение выводов:
1 - неинвертирующий вход дифференциального усилителя
2,3 - выводы источника опорного напряжения
4 - напряжение питания +Uп
5 - общий -Uп
6 - выход
7 - второй инвертирующий вход дифференциального усилителя
8 - первый инвертирующий вход дифференциального усилителя

Электрическая схема КР1022ЕП1

Электрическая схема КР1022ЕП1

Типовые рабочие характеристики КР1022ЕП1

Типовые рабочие характеристики КР1022ЕП1

Типовые рабочие характеристики КР1022ЕП1

Схема включения

      Расчет номиналов внешних навесных элементов регулятора частоты вращения вала типовой схемы включения для конкретных типов коллекторных микродвигателей постоянного тока производится по следующей методике:
      Вначале определяется величина противо-ЭДС микродвигателя по формуле: EnH=nCeФ
где n- частота вращения вала микродвигателя в установившемся режиме, об/мин; Ce - постоянная микродвигателя; Ф - магнитный поток, Вб.
В установившемся режиме для системы автоматического регулирования должно выполнятся условие:
формула
где R1-R4 - рассчитываемые номиналы резисторов, выраженные в килоомах, а R6 в омах; R5-8=2,8 plus minus 0,336 кОм - сопротивление между выводами 5 и 8 микросхемы, обеспечиваемое конструкцией кристалла микросхемы; IM - ток электродвигателя в установившемся режиме, А;
формула
где M - вращающий момент электродвигателя, мНм; RMH - сопротивление обмотки электродвигателя, Ом; Uоп,3-2 - выходное напряжение опорного источника, В.
Для оптимального регулирования dn/dM=0 необходимо выполнения условия:
формула
Но если это условие выполнить точно, то в системе регулирования частоты вращения вала могут возникнуть автоколебательные процессы, поэтому для обеспечения стабильности частоты вращения необходимо соблюдение условия:
формула
Исходя из приведенных выражений резисторы внешней цепи в типовой схеме включения рассчитываются по следующим формулам:
формула
где R6расч - расчетное значение, кОм; R6 - ближайшее выбранное значение сопротивления из стандартного ряда номинальных значений сопротивлений. С учетом термокомпенсации изменения сопротивления обмотки электродвигателя резистор R6 должен иметь ТКС, равный ТКС обмотки электродвигателя. Если обмотка выполнена медным проводом, то величина ТКС резистора R6 должна быть в пределах 0,0036...0,004 1/ ° C. Сопротивление резистора R4 рассчитывается по формуле:
формула
где R4расч - расчетное значение, кОм; дельта RM - норма на технологический разброс сопротивления обмотки электродвигателя, Ом; Если полученное в результате расчета сопротивление R4 не укладывается в стандартный ряд сопротивлений, то выбирается ближайшее меньшее значение. Суммарное сопротивление резисторов, подключенных между выводами 2 и 3, определяется исходя из нагрузочной способности источника опорного напряжения и должно быть не менее 20 кОм. С учетом этого суммарное сопротивление резисторов, кОм, между выводами 1 и 3 должно быть не более: R1+R2 меньше либо равно 20-R3
Тогда сопротивление R3 определяется из выражения:
формула
где дельта En=1,035 В.
Минимальное значение суммы двух резисторов R1 и R2 с учетом вышесказанного определяется как:
формула
где дельта En - норма на технологический разброс противо-ЭДС электродвигателя, В; Uоп,2-3,min=0,97 В - минимальное значение выходного напряжения опорного источника при T=+25 ° C.
Аналогично максимальное значение суммы двух резисторов R1 и R2 определится из выражения:
формула
где Uоп,2-3,max=1,12 В - максимальное значение выходного напряжения опорного источника при T=+25 ° C.
Если один из этих резисторов будет подстроечным, например R2, то сопротивление постоянного резистора R1 будет равно минимальному значению суммы, а сопротивление подстроечного резистора R2 будет равно: R2=(R1+R2)max-(R1+R2)min.
Таким образом, используя вышеизложенные формулы, можно рассчитать все номиналы внешних навесных элементов регулятора частоты вращения вала для конкретного типа микроэлектродвигателя.
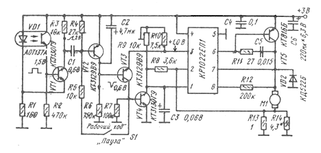
Ниже приведена схема управления режимами работы микродвигателя и регулятора частоты вращения его вала, примененная в магнитофоне "Электроника М401-С". Расчитанные по приведенной методике номиналы внешних навесных элементов для микродвигателя типа ДП20-0,1-У1.1 имеют следующие значения: R6=0,72 Ом (обозначение элементов соответствуют типовой схеме включения ); R1=7,5 кОм; R2=10 кОм; R3=3,6 кОм; R4=200 кОм; транзистор VT1 типа КТ816Б со статическим коэффициентом передачи тока базы не менее 30. Управляющая часть схемы содержит датчик автостопа на оптроне VD1 типа АО137А, усилитель-интегратор импульсов на транзисторах VT1, VT2 и управляющий ключ на транзисторе VT4. В режиме "рабочий ход" переключатель S1 разомкнут и при подаче питания двигатель приводит в движение приемный узел, который, вращаясь, прекрывает световой поток оптопары и формирует на ее выходе импульсы переменного напряжения. Эти импульсы, усиленные транзистором VT1, управляют работой ключа на транзисторе VT2 и не дают зарядиться конденсатору С2. При этом VT3 и VT4 остаются запертыми и система автоматического регулирования частоты вращения вала остается включенной. Приостановке приемного узла поступление импульсов на VT2 прекращается, он запирается и конденсатор С2 заряжается, а транзисторы VT3, VT4 открываются и выключают двигатель. В режиме "пауза" через переключатель S1 подается смещение на транзистор VT4; он открывается и также выключается двигатель.

схема применения

Реализация КР1022ЕП1 в магнитофоне "Электроника М-401С

схема применения

Электрические параметры

1 Входное напряжение опорного источника между выводами 2 и 3 при
Uвх.1-4=2,1 В, R2-3=10 кОм
    при T=+25 ° C
    типовое значение
    при T=+70 ° C
    при T=-10 ° C
 
 
0,97...1,12 В
1,035 В
0,9...1,08 В
0,98...1,18 В
2 Ток потребления при Uвх.1-4=12 В
    при T=+25 ° C
    типовое значение
    при T=+70 ° C
    при T=-10 ° C
 
0,72...2,7 мА
1,6 мА
0,31...2,1 мА
0,99...3,2 мА
3 Ток потребления опорного источника по выводу 2 при Uвх=2,1 В
    при T=+25 ° C
    типовое значение
    при T=+70 ° C
    при T=-10 ° C
 
0,27...1 мА
0,6 мА
0,08...0,93 мА
0,34...1,12 мА
4 Нестабильность выходного напряжения опорного источника по входному
напряжению при его изменении от 2,1 до 12 В, R2-3=10 кОм
    при T=+25 ° C
    при T=+70 ° C
    при T=-10 ° C
 
 
не более 0,18 %/В
не более 0,27 %/В
не более 0,3 %/В
5 Нестабильность выходного напряжения опорного источника по выходному
току при его изменении от 100 до 200 мкА, Uвх.4-5=2,1 В
    при T=+25 ° C
    при T=+70 ° C
    при T=-10 ° C
 
 
plus minus 0,019 %/мкА
plus minus 0,02 %/мкА
plus minus 0,018 %/мкА


Предельно допустимые режимы эксплуатации

1 Максимальное входное напряжение между выводами 1 и 8 не более 50 мВ
2 Максимальный ток нагрузки по выводу 6
при Uвх.4-5=2,1 В, U1-4=1,65 В, U8-4=-1,7 В, T=-10...+70 ° C
 
20 мА
3 Входное напряжение между выводами 4 и 5 2,1...12 В
4 Максимальный ток опорного источника по выводу 3 0,2 мА
5 Максимально допустимая рассеиваемая мощность 150 мВт
6 Температура окружающей среды -10...+70 ° C
7 Рассеиваемая мощность определяется по формуле:
Pрас=0,35+(U4-5-0,65)(IM,max/h21VT1)
где U4-5 - входное напряжение подаваемое на микросхему
IM,max - максимальный ток нагрузки внешнего навесного
транзистора типовой схемы включения
h21VT1 - минимальный коэффициент усиления тока внешнего
навесного транзистора типовой схемы включения
 


Зарубежные аналоги

AN6616



Литература

Интегральные микросхемы и их зарубежные аналоги: Справочник. Том 7./А. В. Нефедов. - М.:ИП РадиоСофт, 1998г. - 640с.:ил.

Отечественные микросхемы и зарубежные аналоги Справочник. Перельман Б.Л.,Шевелев В.И. "НТЦ Микротех", 1998г.,376 с. - ISBN-5-85823-006-7

Микросхемы для бытовой радиоаппаратуры: Справочник. Новаченко И.В. и Юровский А.В. - М.:Радио и связь, 1990. - 176 с.: ил., ISBN 5-256-00435-2.


Навигатор: QRZ.RU > Радиолюбительская справочники > Справочник по отечественным микросхемам

Партнеры