Что-то не так?
Пожалуйста, отключите Adblock.
Портал QRZ.RU существует только за счет рекламы, поэтому мы были бы Вам благодарны если Вы внесете сайт в список исключений. Мы стараемся размещать только релевантную рекламу, которая будет интересна не только рекламодателям, но и нашим читателям. Отключив Adblock, вы поможете не только нам, но и себе. Спасибо.
Как добавить наш сайт в исключения AdBlockРеклама
К1107ПВ2 - Быстродействующий 8-разрядный АЦП параллельного типа с частотой преобразования 20 МГц
| Навигатор: QRZ.RU > Радиолюбительская справочники > Справочник по отечественным микросхемам |
Общее описание К1107ПВ2
Корпус К1107ПВ2
Функциональная схема К1107ПВ2
Электрические параметры
Предельно допустимые режимы эксплуатации
Рекомендации по применению
Зарубежные аналоги
Литература
Общее описание К1107ПВ2
Микросхема представляют собой быстродействующий 8-разрядный АЦП
параллельного типа с частотой преобразования 20 МГц и предназначена для
преобразования входных сигналов в один из потенциальных кодов:
двоичный (прямой и обратный) и дополняющий (прямой и обратный).
Не требуется внешней схемы выборки и хранения. Совместимы с ТТЛ схемами.
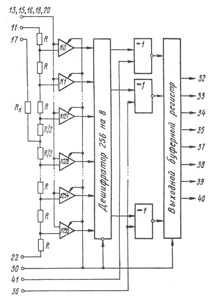
Кждый из 256 компараторов напряжения прямым входом подключен к определенной
точке резисторного делителя опорного напряжения, а инвертирующие входы
компараторов объеденены и образуют аналоговый вход АЦП. Линейка компараторов
формирует унитарный (термометрический) код, соответствующий уровню входного
напряжения. Делителем опорного напряжения, формирующим пороговый уровень
компаратора, служит низкоомный резисторный делитель. Варьируя опорными
напряжениями на входах делителя можно компенсировать абсолютную погрешность
преобразования в конечной точке шкалы и напряжения смещения нуля на входе.
Вывод от средней точки делителя служит для корректировки нелинейности
(подключая его к верхнему или нижнему входам делителя опорного напряжения в
зависимости от знака нелинейности, можно скорректировать нелинейность на
0,25МЗР). Унитарный код линейки компараторов преобразуется в 8-разрядный код
дешифратором, построенным на схемах И и ИЛИ. Логические схемы Исключающее
ИЛИ имеют внешние входы "управление выходным кодом, вход 1" и "управление
выходным кодом, вход 2", по которым имеется возможность сигналами ТТЛ
управлять типом выходного кода. Тип выходного кода можно задать при помощи
постоянных уровней напряжений: подключение к напряжению +5 В будет
соответствовать высокому уровню, а к шине "земля" - низкому уровню. Работой
АЦП управляет один тактовый сигнал. Выборка производится (стробируются
компараторы) через 10...22 нс после прохождения переднего фронта тактового
сигнала. Кодирование производится после прохождения заднего фронта тактового
импульса, результат его передается в выходной регистр одновременно с
передним фронтом очередного тактового импульса. Задержка цифрового выхода
tDO не превышает 50 нс. Это дает возможность передним фронтом
очередного тактового импульса производить следующую выборку, т.е. в момент,
когда на выходе получается результат n-й выборки на входе производится n+2
выборка, а результат n+1 выборки хранится в промежуточной ступени.
Кодирование входного сигнала приводится в таблице:
| Ступенька характеристики преобразования |
Напряжение на входе, В |
Прямой двоичный код УВК1-"1", УВК2-"1" |
Обратный двоичный код УВК1-"0", УВК2-"0" |
Прямой дополнит. код УВК1-"1", УВК2-"0" |
Обратный дополнит. код УВК1-"0", УВК2-"1" |
| 000 | 0,0000 | 00000000 | 11111111 | 10000000 | 01111111 |
| 001 | -0,0078 | 00000001 | 11111110 | 10000001 | 01111110 |
| 002 | -0,0156 | 00000010 | 11111101 | 10000010 | 01111101 |
| . . . |
. . . |
. . . |
. . . |
. . . |
. . . |
| 127 | -0,9961 | 01111111 | 10000000 | 11111111 | 00000000 |
| 128 | -1,0039 | 10000000 | 01111111 | 00000000 | 11111111 |
| 129 | -1,0117 | 10000001 | 01111110 | 00000001 | 10000000 |
| . . . |
. . . |
. . . |
. . . |
. . . |
. . . |
| 254 | -1,9922 | 11111110 | 00000001 | 01111110 | 10000001 |
| 255 | -2,0000 | 11111111 | 00000000 | 01111111 | 100000000 |
Содержит 15623 интегральных элементов. Корпус типа 2136.64-1, масса не более 22 г.
Корпус К1107ПВ2
Функциональная схема
|
Назначение выводов: 1...10 - свободные; 11 - опорное напряжение Uоп1; 13,15,16,18,20 - входы (аналоговый сигнал); 14,19 - общий (аналоговая земля); 17 - вывод корректировки нелинейности; 22 - опорное напряжение Uоп2; 28,43 - напряжение питания Uп1; 29,42 - общий (цифровая земля); 30 - тактовый сигнал; 32 - вход 8 (младший разряд); 33 - выход 7; 34 - выход 6; 35 - выход 5; 36 - управление выходным кодом, вход 2 (УКВ2); 37 - выход 4; 38 - выход 3; 39 - выход 2; 40 - выход 1 (старший разряд); 41 - управление выходным кодом, вход 1 (УКВ1); 47...50 - напряжение питания -Uп2; 12,21,23...27,31,44...46,51...64 - свободные. |
| 1 | Номинальное напряжение питания     Uп1     Uп2 |
  5 В -6 В |
| 2 | Выходное напряжение низкого уровня | не более 0,4 В |
| 3 | Выходное напряжение высокого уровня | не менее 2,4 В |
| 4 | Ток потребления     от источника питания Uп1     от источника питания Uп2 |
  не более 35 мА не более |-450| мА |
| 5 | Напряжение смещения нуля на входе | -0,1...0,1 В |
| 6 | Абсолютная погрешность преобразования в конечной точке шкалы | -0,1...0,1 В |
| 7 | Ток потребления от источника опорного напряжения | не более 35 мА |
| 8 | Входной ток высокого уровня | не более 75 мкА |
| 9 | Входной ток низкого уровня | не более |-2| мА |
| 10 | Входной ток смещения нуля | не более 500 мкА |
| 11 | Нелинейность | -0,1...0,1 МЗР |
| 12 | Дифференциальная нелинейность | -0,1...0,1 МЗР |
| 13 | Время преобразования | не более 100 нс |
Предельно допустимые режимы эксплуатации
| 1 | Напряжение питания     Uп1     Uп2 |
  4,75...5,25 В -6,18...-5,82 В |
| 2 | Опорное напряжение     Uоп1     Uоп2 |
  -0,1...0,1 В -2,1...1,9 В |
| 3 | Ток нагрузки | 2 мА |
Рекомендации по применению
Не рекомендуется подведение каких-либо электрических сигналов к корпусу и неиспользуемым выводам. Требуется предусматреть отдельные шины "цифровая земля" и "аналоговая земля" с соединением их только в одной точке на клемме источника питания. К выводам Uп1, Uп2 и Uоп необходимо подключение конденсаторов емкостью 10 мкФ и 0,1 мкФ.
Зарубежные аналоги
TDC1007J
Литература
Интегральные микросхемы и их зарубежные аналоги: Справочник. Том 8./А. В. Нефедов. - М.:ИП РадиоСофт, 1998г. - 640с.:ил.
Отечественные микросхемы и зарубежные аналоги Справочник. Перельман Б.Л.,Шевелев В.И. "НТЦ Микротех", 1998г.,376 с. - ISBN-5-85823-006-7
| Навигатор: QRZ.RU > Радиолюбительская справочники > Справочник по отечественным микросхемам |