Что-то не так?
Пожалуйста, отключите Adblock.
Портал QRZ.RU существует только за счет рекламы, поэтому мы были бы Вам благодарны если Вы внесете сайт в список исключений. Мы стараемся размещать только релевантную рекламу, которая будет интересна не только рекламодателям, но и нашим читателям. Отключив Adblock, вы поможете не только нам, но и себе. Спасибо.
Как добавить наш сайт в исключения AdBlockРеклама
К1107ПВ3, КР1107ПВ3 - Быстродействующий 6-разрядный АЦП параллельного типа с разрядом переполнения
| Навигатор: QRZ.RU > Радиолюбительская справочники > Справочник по отечественным микросхемам |
Общее описание К1107ПВ3А,Б, КР1107ПВ3А,Б
Корпус К1107ПВ3
Корпус КР1107ПВ3
Структурная схема
Электрические параметры
Предельно допустимые режимы эксплуатации
Рекомендации по применению
Зарубежные аналоги
Литература
Общее описание К1107ПВ3А,Б, КР1107ПВ3А,Б
Микросхемы представляют собой 6-разрядный АЦП параллельного типа с ЭСЛ выходом и разрядом переполнения. Не требуют внешней схемы выборки-хранения. Предназначены для преобразования аналоговых напряжений в цифровую форму в виде двоичного прямого кода с максимальной частотой преобразования до 50 и 100 МГц. Обычно параллельный АЦП требует (2n-1) компараторов, т.е. для построения 6-разрядного АЦП требуется 63 компаратора. В этом АЦП 64-й компаратор служит для фиксации превышения аналоговым сигналом входного диапазона напряжения. Работой АЦП управляет тактовый сигнал. Тактируемый регистр состоит из 64 триггеров, соединенных с компараторами, и служит для записи и хранения информации. Дешифратор, включающий схемы И и ИЛИ, переводит "термометрический" код регистра в 6-разрядный двоичный код, поступающий на цифровые выходы. Тактирующий сигнал подается на компараторы и регистр. Информация на цифровых выходах зависит от состояния триггеров регистра. При низком уровне тактирующего сигнала происходит выборка аналогового сигнала, на который реагируют компараторы. При подаче высокого уровня тактирующего сигнала информация с выходов компараторов переписывается в регистр, а компараторы отключаются от аналогового сигнала. Режим хранения начинается с подачи положительного фронта тактирующего импульса, но информация на цифровых выходах появляется после задержки Tзд2. В режиме выборки регистр не держит преждней информации и при подаче отрицательного фронта тактирующего сигнала после задержки Tзд1 код на выходах не определен на время, соответствующее времени режима выборки. Когда аналоговый сигнал превышает значение положительного опорного напряжения U, то на выходе Dпер появляется лог.1, а на остальных цифровых выходах - лог.0. Наличие выхода переполнения дает возможность увеличить разрядность до 7 и более разрядов путеп параллельного соединения соответствующего количества микросхем. Сигнал с 64 компаратора подается прямо на выходной каскад переполнения. Микросхема содержит 1416 интегральных элементов. Корпус у К1107ПВ3 типа 201.16-13, масса не более 2 г., у КР1107ПВ3 - 239.24-2, масса не более 4 г.
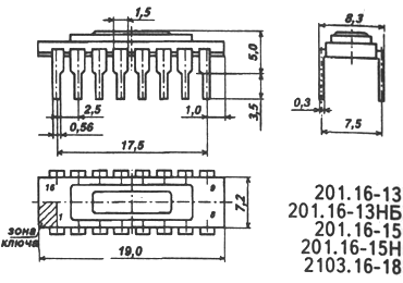
Корпус К1107ПВ3
|
Назначение выводов: 1 - общий (аналоговая земля); 2 - положительное опорное напряжение (Uоп1); 3 - аналоговый вход; 4 - отрицательное опорное напряжение (-Uоп2); 5 - напряжение контроля гистерезиса; 6 - тактовый вход; 7 - напряжение питания (Uп1); 8 - напряжение питания (-Uп2); 9 - выход 6 (младший разряд); 10 - выход 5; 11 - выход 4; 12 - выход 3; 13 - выход 2; 14 - выход 1 (старший разряд); 15 - выход 7 (разряд переполнения); 16 - общий (цифровая земля). |
Корпус КР1107ПВ3
|
Назначение выводов: 1 - общий (аналоговая земля); 2,5 - опорное напряжение; 3,7,9,10,14,15,22,23 - свободные; 4 - аналоговый вход; 6 - напряжение контроля гистерезиса; 8 - тактовый вход; 11 - напряжение питания (Uп1); 12 - напряжение питания (-Uп2); 13 - выход 6 (младший разряд); 16...19 - выходы 5...2; 20 - выход 1 (старший разряд); 21 - выход 7 (разряд переполнения); 24 - общий (цифровая земля). |
Электрические параметры
| 1 | Номинальное напряжение питания     Uп1     Uп2 |
  5 В -5,2 В |
| 2 | Диапазон входного напряжения | -2,5...2,5 В |
| 3 | Опорное напряжение     Uоп1     Uоп2 |
  2,5 В -2,5 В |
| 4 | Выходное напряжение низкого уровня | -2...-1,5 В |
| 5 | Выходное напряжение высокого уровня | -1,1...-0,7 В |
| 6 | Входной ток (аналогового входа)     К1107ПВ3А, КР1107ПВ3А     К1107ПВ3Б, КР1107ПВ3Б |
  не более 0,5 мкА не более 0,8 мкА |
| 7 | Ток потребления от Uп1 | не более 60 мА |
| 8 | Ток потребления от -Uп2 | не более |-80| мА |
| 9 | Нелинейность | -1/4...1/4 МЗР |
| 10 | Время преобразования | не более 20 нс |
| 11 | Максимальная частота преобразования     К1107ПВ3А, КР1107ПВ3А     К1107ПВ3Б, КР1107ПВ3Б |
  не более 100 МГц не более 50 МГц |
| 12 | Частота повторения парных тактовых импульсов | 0,1...1 МГц |
| 13 | Длительность паузы тактового сигнала     К1107ПВ3А, КР1107ПВ3А     К1107ПВ3Б, КР1107ПВ3Б |
  5 нс 10 нс |
Предельно допустимые режимы эксплуатации
| 1 | Напряжение питания     Uп1     Uп2 |
  6 В -6 В |
| 2 | Опорное напряжение     Uоп1     Uоп2 |
  0...3 В -3...0 В |
Рекомендации по применению
Калибровка ИС (компенсация абсолютных погрешностей в конечных точках шкалы) проводится регулировкой опорных напряжений Uоп1 и Uоп2. Вывод 5 применяется для управления гистерезисов компараторов при подаче внешнего постоянного напряжения Uг. Для большинства случаев ИС применяются без внешнего напряжения гистерезиса, оставляя вывод 5 свободным. Подача регулируемого Uг в пределах 0...2 В позволяет в небольших пределах управлять гистерезисом компараторов и рекомендуется при использовании ИС на высокой частоте для обеспечения правильной и стабильной работы АЦП. Цифровой вывод 7 переполнения позволяет применять параллельное соединение ИС для увеличения разрядности АЦП. При превышении аналоговым сигналом входного диапазона на цифровом входе переполнения появляется напряжение высокого уровня, на остальных цифровых выходах - напряжение низкого уровня. Требуется предусматреть отдельные шины "цифровая земля" и "аналоговая земля" с соединением их только в одной точке на клемме источника питания. Цифровые выходы ИС подключаются к источнику питания -2 В через резисторы сопротивлением 100 Ом.
Зарубежные аналоги
SDA5010, SDA6020
Литература
Интегральные микросхемы и их зарубежные аналоги: Справочник. Том 8./А. В. Нефедов. - М.:ИП РадиоСофт, 1998г. - 640с.:ил.
Отечественные микросхемы и зарубежные аналоги Справочник. Перельман Б.Л.,Шевелев В.И. "НТЦ Микротех", 1998г.,376 с. - ISBN-5-85823-006-7
| Навигатор: QRZ.RU > Радиолюбительская справочники > Справочник по отечественным микросхемам |