LAB599.RU — интернет-магазин средств связи
EN FR DE CN JP

Ремонт CD-проигрывателей. CD-players repair CD-ROM

 ·   Оглавление   ·   Введение   ·   ·   ·   ·   ·   ·   ·   ·   ·   · 

Автор - Ростислав
Источник - http://www.ronyasoft.nm.ru/cdmaster.html

4 Диагностика и настройка оптических и механических элементов

Все виды юстировок (механических настроек) можно проводить, точно удостоверившись в их необходимости, чтобы ошибочно не нарушить заводскую юстировку. Перед началом настроек желательно пометить начальные положения настроечных элементов.

4.1 Лазерная головка

4.1.1 Проверка и настройка тока

См. пункт 3.5 .

4.1.2 Проверка линзы

Для просмотра поверхности линзы желательно использовать лупу и источник яркого света. Линза должна быть чистой, прозрачной, без царапин, в противном случае падает мощность считываемого луча и наблюдается эффект "подсевшего лазера". Поверхность линзы покрыта специальным фоточувствительным слоем, который придает ей голубоватый оттенок.

Для прочистки линзы выпускаются баллончики со специальной жидкостью. Также можно использовать спички с ватой и спирт. Смоченным в спирте ватным тампоном протирают линзу и сразу же сухим тампоном удаляют следы от спирта. Делать это нужно очень аккуратно, чтобы не повредить подвеску и не нарушить юстировку фокусирующей линзы. Из-за применения для чистки активных веществ линза со временем может помутнеть.

На практике допускаются маленькие царапины, но при больших повреждениях считывание информации становится невозможным. Нужно заменить лазерную головку или реставрировать ее.

4.1.3 Проверка наклона линзы

Наклон линзы - это отклонение от параллельности плоскости линзы относительно плоскости диска. Эта величина должна быть минимальной (рис. 4.1).

Рис. 4.1. Наклон линзы
Из-за увеличения наклона линзы уменьшается амплитуда полезных лучей, ухудшается отслеживание трека, поэтому диски плохо читаются. Со временем из-за изменения характеристик материала подвески катушки (внутреннее напряжение и т.п.) наклон линзы может увеличиться.

Настройка: Регулировку наклона линзы можно проводить в одной или двух плоскостях, в зависимости от модели ЛГ, либо же она не предусмотрена вообще (рис. 4.2, где 1 - регулировочные винты; 2 - пружина; 3 - винт с пружиной; 4 - фиксирующий винт; 5 - отверстие для регулировочного ключа).

Рис. 4.2. Регулировка наклона линзы

Регулировку осуществляют с помощью винтов 1. В большинстве случаев настройку наклона можно проводить только при разобранной механике, “в воздухе”. Точно наклон настраивают по максимальной амплитуде сигнала EFM.

Если этот сигнал отсутствует или слабый, возможно, сначала нужно провести грубую настройку “на глазок”. Для этого следует подать напряжение 1...2 В на фокусирующую катушку, чтобы линза поднялась вверх к диску, не дотрагиваясь до него. При этом легче увидеть погрешность наклона (рис. 4.1). Выше некоторого уровня линза подняться не сможет, потому нужно следить за тем, чтобы не сжечь катушку. Затем нужно настроить наклон линзы по максимальной параллельности. После грубой регулировки при запуске линза должна фокусироваться, и диск должен вращаться.

4.1.4 Дифракционная решетка

Дифракционная решетка расщепляет лазерный луч на лучи разных порядков. В проигрывателе используются основной луч для считывания информации и два дополнительные луча первого порядка для отслеживания трека. Мощность дополнительных лучей составляет 25% от мощности основного. Регулируя положение дифракционной решетки, можно изменить положение дополнительных (отслеживающих) лучей относительно основного.

Регулировка возможна в некоторых (в основном старых) моделях оптических головок (рис. 4.3, где 1 - отверстие для регулировки; 2 - фотодатчик; 3 - лазерный диод; 4 - прижимные винты; 5 - регулировочный ключ).

Рис. 4.3. Юстировка дифракционной решетки

Головки показаны со стороны соединительной платы.

Специальный регулировочный ключ 5 можно изготовить самостоятельно. Отверстие для регулировки может быть залито клеем. В головках SF-91 (рис. 4.3) дифракционная решетка конструктивно расположена в одном корпусе с лазерным диодом, поэтому перед регулировкой нужно слегка отпустить винты 4 и желательно отпаять диод от платы, временно соединив его с платой тонкими проводниками. Данным способом можно попробовать восстановить неисправную лазерную головку, которая не отслеживает трек (луч фокусируется, и сигнал FOK вырабатывается).

Настройка: В процессе попытки считывания трека нужно плавно поворачивать ключ и выставить решетку по максимальной амплитуде сигналов EFM и TER.

4.2 Диагностика двигателя

При износе двигателя, вращающего диск, в нем увеличивается зазор между осью коллектора и бронзовой втулкой, в результате чего в несколько раз увеличиваются вибрация и колебания компакт-диска в вертикальном и горизонтальном направлениях. Сервосхемы фокусировки и трекинга не могут отследить дорожку, и из потока считываемой информации начинают выпадать полезные данные. Слышен шорох в выходном аудиосигнале (как у виниловой пластинки), диск плохо читается или не читается вообще.

При обгорании и искрении контактов коллектора, некачественной разводке и экранировке схем питания также может возникнуть треск и шорох в аудиосигнале. Если двигатель разбит, то он будет издавать сильный механический шум и треск.

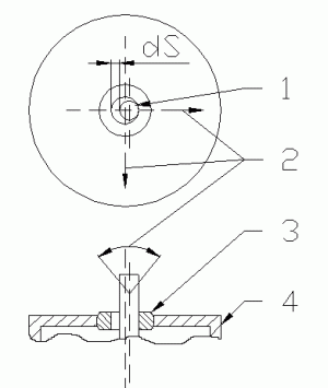
4.2.1 Проверка на износ втулок (на "разбитость")

В корпусе двигателя установлены две бронзовые втулки, играющие роль подшипников. В процессе работы втулки изнашиваются, увеличивается зазор между ними и валом двигателя dS (рис. 4.4, где 1 - ось; 2 - направление вибраций; 3 - бронзовая втулка; 4 - корпус), увеличивается вибрация и дребезг вала двигателя.

Рис. 4.4. Износ двигателя

Дребезг передается компакт-диску. Если колебания диска в радиальном направлении больше допустимой нормы, система трекинга не может отследить дорожку (диск читается плохо или вообще не читается).

В "разбитых" двигателях резко увеличивается механический шум. Например, при позиционировании головки слышен сильный треск. На практике определить износ двигателя можно следующим способом:

  • извлечь двигатель, снять с вала шестеренку или столик;
  • присоединить двигатель к регулируемому блоку питания 0...5 В, 100 мкА;
  • плавно увеличивая напряжение от 0 до 3 В и наоборот, внимательно прислушиваются к механическому шуму.

В разбитом двигателе при некоторых значениях оборотов из-за резонанса в несколько раз увеличиваются шум и треск. В исправном двигателе шум меняется плавно. Для начала можно сравнить работу двигателя с заведомо исправным (эталонным). Попрактиковавшись несколько раз, можно научиться отбраковывать изношенные двигатели. В процессе проверки нужно быть осторожным с напряжением питания, чтобы не вывести из строя двигатель. Разбитые двигатели нужно заменять аналогичными или реставрировать.

Износ двигателя диска значительно больше влияет на качество считывания по сравнению с износом двигателя позиционирования. Поэтому, если разбит двигатель диска, то можно попытаться поменять его местами с двигателем позиционирования, при условии что оба двигателя одинаковой марки. Но часто вал двигателя диска по длине больше, чем вал двигателя позиционирования. В этом случае можно разобрать два двигателя и поменять местами их корпуса или попытаться его реставрировать .

4.2.2 Проверка на “мертвую точку”

"Мертвой точкой" называют положение двигателя, в котором из-за искрения и обгорания контактов пропадает контакт между коллектором и щетками. При вращении вала двигатель может по инерции проскакивать мертвую точку, поэтому определять ее нужно во время запуска двигателя.

Для проверки наличия мертвой точки нужно подать на двигатель напряжение питания, достаточное для его медленного вращения и, притормаживая рукой вал двигателя, постараться найти положение, из которого двигатель перестает запускаться. Если после нескольких попыток найти мертвую точку не удается, то можно предположить, что двигатель исправен.

4.3 Диагностика механики

4.3.1 Проверка перпендикулярности плоскости столика к своей оси (кривизна столика)

Для проверки перпендикулярности столика нужно установить диск на столик и зафиксировать его магнитом. Затем следует слегка крутануть диск рукой. Если амплитуда колебаний диска на краю (А на рис.4.5) превысит 0,5 мм в вертикальном направлении, можно попытаться его выровнять или заменить другим.

Рис. 4.5. Настройка кривизны столика

На практике выравнивать можно следующим образом:

  • устанавливают старый диск и, вращая его, находят места максимального отклонения диска вверх (вниз);
  • надавливая на столик (направления надавливания указаны стрелками на рис. 4.5), пытаются его выровнять.

Надавливать нужно легонько, чтобы не повредить столик или двигатель. Для исключения повреждения или искривления столика снимать его с двигателя можно только за нижнюю часть, помогая при этом отверткой.

При колебаниях диска выше допустимых сервосхемы фокусировки не смогут обеспечить надежную фокусировку луча на поверхности диска. Поэтому процесс считывания может перерываться. Этот эффект особенно заметен на последних треках.

Если сила магнита "ослабла", диск на столике в моменты пуска и остановки проигрывателя может проскальзывать.

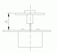
4.3.2 Проверка высоты столика

Установив параллельно с осью двигателя штангенциркуль, измеряют расстояние от плоскости столика к шасси, на которой закреплен двигатель (А на рис. 4.6).

Рис. 4.6. Настройка высоты столика

В проигрывателях Sony KSM-210 (KSM-240, KSM-150), Sanyo SF-90 высота столика равна 19,5 ± 0,25 мм. У других проигрывателей это расстояние может быть другим (точную высоту определяют по документации). Есть смысл измерять высоту столика для разных типов "механики" и записывать в блокнот. Это может пригодиться при следующих ремонтах.

В процессе эксплуатации высота столика может немного измениться. Из-за этого проигрыватель начинает запускаться только со второго или третьего раза. При сильном отклонении высоты столика луч не может сфокусироваться.

Грубо высоту столика можно выставить, основываясь на том, что при считывании диска фокусная линза должна иметь запас для возможности перемещения вверх и вниз.

После изменения высоты столика нужно настроить смещение фокуса FO-Offset.

4.3.3 Проверка позиционирования ЛГ

Для проверки позиционирования лазерной головки нужно:

  • отключить Slide-двигатель от схем проигрывателя;
  • при отсутствии смазки на направляющих ЛГ и шестернях нанести смазку;
  • подать на Slide-двигатель напряжение 1...5 В нужной полярности, чтобы ЛГ двигалась от начального к конечному положению и в обратную сторону. Можно попробовать покрутить вал двигателя рукой.

Если ЛГ движется неравномерно, приостанавливается, слышен сильный треск, заметно подклинивание или проскальзывание, то, возможно, поврежден двигатель, шестерни или пассики. Шестерни нужно осмотреть на отсутствие повреждений, разломов, лишних механических элементов. Пассиковые передачи должны надежно передавать движение. Если натяжение пассика ослабло, он начинает проскальзывать. При замене пассиков следует иметь в виду, что при использовании короткого, сильно натянутого, пассика большая часть энергии теряется из-за трения в передаче, а также сильно изнашивается двигатель. Из-за этого может часто прерываться считывание диска.

Если в двигателе позиционирования есть мертвая точка, то при воспроизведении проигрыватель может самопроизвольно переходить в режим остановки. При обгорании контактов в двигателе позиционирования ЛГ позиционируется рывками, проскакивая необходимое положение. В случае неисправности двигателя его заменяют или реставрируют.

В некоторых CD-проигрывателях Telefunken для позиционирования ЛГ применяется фрикционная передача, которая при ослаблении пружины может сильно проскальзывать. ЛГ позиционируется рывками, часто теряет трек. В данном механизме отсутствует концевик начального положения ЛГ, поэтому фрикционная передача не должна быть очень жесткой, чтобы иметь возможность проскальзывать при установке головки в стартовую позицию.

4.3.4 Каретка

При нажатии клавиши "Open/Close" каретка должна выехать и, замкнув концевик, остановиться. Для возможности извлечения диска лазерная механика может опуститься вниз, или используется специальный механизм для поднятия диска.

Для диагностики движения каретки подают напряжение 2...5 В или пробуют вращать рукой вал двигателя каретки. Если каретка не выезжает, возможно, она заклинила. Во многих моделях каретка может выехать только, когда лазерная механика опущена вниз. Загрязнение механических элементов затрудняет движение каретки. Иногда один двигатель управляет кареткой и позиционирует лазерную головку.

Проверяют пассик. Если он растянут, то передача проскальзывает, и каретка выезжает очень медленно или не выезжает вообще. В проигрывателях Telefunken, где использованы бесконтактные схемы, если пассик растянут, каретка может выехать до конца, но двигатель еще долго будет вращаться.

Возможен вариант, когда каретка выезжает до конца и сразу заезжает обратно (см. пример 8). Если каретка закрыта, диск должен быть прижат к столику и иметь возможность свободного вращения. Иногда, если диск плохо прижат, блокировочные концевики отключают ток питания лазера.

Для извлечения каретки нужно отжать защитные пластинки и (или) открутить болты или снять защелки (рис. 4.7, выделенными кругами обозначены возможные места блокировочных элементов). Если каретка свободно не выезжает, не нужно использовать силу, нужно найти блокировочные элементы.

Рис. 4.7. Каретка

4.3.5 Чейнджера

Только при нормальной работе чейнджерного механизма возможен последующий поиск неисправности в проигрывателе. Встречаются кассетные и карусельные чейнджеры. При разборке чейнджеров желательно пометить положения шестеренок и других элементов, чтобы затем без проблем можно было собрать все обратно.

Из-за неисправности оптопары невозможно отслеживание состояния механики (положение карусели и пр.). Также следует проверить соединительные провода и плоские шлейфы.
 

<<  Оглавление  >>


Все права защищены. При попытке воспроизведения информации ссылка на источник обязательна.



 

Партнеры