Что-то не так?
Пожалуйста, отключите Adblock.
Портал QRZ.RU существует только за счет рекламы, поэтому мы были бы Вам благодарны если Вы внесете сайт в список исключений. Мы стараемся размещать только релевантную рекламу, которая будет интересна не только рекламодателям, но и нашим читателям. Отключив Adblock, вы поможете не только нам, но и себе. Спасибо.
Как добавить наш сайт в исключения AdBlockРеклама
Радиолюбительские справочники
ФЕРРИТОВЫЕ КОЛЬЦА В СПОРТИВНОЙ АППАРАТУРЕ
| Ю. МЕДИНЕЦ (UB5UG), Т. ТОМСОН (UR2AO) |
Среди разнообразных ферритовых магнитопроводов, выпускаемых промышленностью, наибольший интерес для радиоспортсменов представляют тороидальные: выполненные на них катушки имеют минимальные индуктивность рассеяния и габариты, высокую стабильность параметров. Кроме того, на ферритовых кольцах можно достаточно просто выполнить некоторые устройства, реализация которых на других компонентах представляет известные трудности. Основное внимание мы сосредоточим на малоизвестных способах применения кольцевых магнитопроводов из ферритов.
Для применения на любительских KB диапазонах можно рекомендовать ферритовые кольца марок 30ВЧ и 50ВЧ. На УКВ диапазонах 144 и 430 МГц лучше всего применять ферриты марок 10ВЧ и 13ВЧ. Для устройств, работающих на низких частотах (например, 500 к Гц), подходят ферриты 100НН, 400НН или 600НН (цифра указывает начальную магнитную проницаемость).
При отсутствии конструктивных ограничении катушку следует выполнить на кольце с возможно большим сечением и распределять обмотку равномерно по его периметру. В этом случае можно ожидать, что паразитная индуктивность рассеяния не превысит 10% индуктивности катушки. Во избежание появления межвитковых и межобмоточных поверхностных токов ферритовое кольцо следует покрыть двумя-тремя слоями клея БФ или обмотать лентой из фторопласта. Такая мера к тому же предохраняет провода от повреждения острыми кромками сердечника. Не рекомендуется округлять острые кромки с помощью точильного камня, по-скольку при этом понижается добротность катушки.
По данным опытов кольца марок ЗОВЧ или 50ВЧ размером 32Х16Х8 мм могут удовлетворительно работать на частотах до 30 МГц в устройствах мощностью до 100 Вт. Для меньших уровней мощности можно применять кольца с меньшим сечением, а для больших - использовать несколько колен.
Довольно часто для согласования и симметрирования антенн н фидерных линий радиолюбители применяют трансформаторы на ферритовых кольцах. Выполнить такой трансформатор можно по схеме рис. 1, а (только симметрирование) или рис 1. в (симметрирование и согласование с более высокоомной нагрузкой). На рис. 1. б и г схематично показано размещение обмоток трансформатора.

Однако симметрировать антенну можно и другим способом, заслуживающим, на наш взгляд, большего внимания (рис 2). В этом случае катушка, состоящая из двух-трех витков кабеля, действует как дроссель для токов, протекающих по его оплетке. Поскольку основная часть мощности передается в антенну, магнитопровод может иметь относительно небольшое сечение.

По данным Л. Ульянова (UA1WW) на частотах 144 МГц и выше для симметрирования достаточно просто надеть ферритовое кольцо на кабель фидера непосредственно у вибратора антенны.

На рис. 3 приведена схема компенсационного мостового аттенюатора для приемного устройства. Аттенюатор имеет хорошую линейность как при малом, так и при большом уровне сигнала. Диапазон регулирования ограничивается внутренней емкостью трансформатора Т1 и практически достигает 60 дБ.
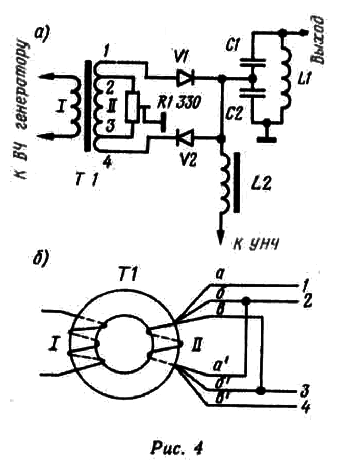
Трансформаторы на ферритовых кольцах очень эффективны в балансных смесителях. Это общеизвестно. Но не Все знают, что существует возможность “растянуть” балансировку (рис. 4). Подобная модификация трансформатора позволяет выполнить эту операцию более точно.

Широко используются трансформаторы на кольцах для согласования входных и выходных сопротивлений каскадов в транзисторных устройствах. При этом трансформируются как активное, так и реактивное сопротивления. Последнее позволяет применить трансформатор для изменения диапазона перестройки емкости конденсатора (рис. 5) - большое изменение емкости конденсатора С2 трансформируется в малое изменение емкости контура L1C1.

Такой “растягивающий” трансформатор хорошо работает при частотах менее 10 МГц. На более высоких частотах появляются затруднения из-за наличия паразитной индуктивности рассеивания трансформатора, образующей с емкостью конденсатора С2 последовательный колебательный контур, резонанс которого может нарушить работу устройства.

На рис 6 изображена схема автогенератора с трансформаторной обратной связью. Трансформатор Т1 обеспечивает оптимальный коэффициент обратной связи в широком диапазоне nepeстройки частоты автогенератора, определяемой параметрами колебательного контура LIC1. Чтобы исключить влияние нестабильности параметров феррита на частоту автоколебаний, следует выбирать индуктивность обмотки трансформатора Т1 существенно (не менее чем в 10 раз) большей индуктивности катушки L1.
Для получения колебаний синусоидальной формы не следует выбирать емкость конденсатора СЗ слишком большой. Hа частотах 1—10 МГц она не должна превышать 1000—2000 пФ. Данные трансформатора Т1 могут быть такими: магнитопровод К15Х5Х4 из феррита 400НН, обмотка I — 20 витков, II — 2 витка провода ПЭЛШО 0,2-0,5.
Трансформаторы на ферритовых кольцах могут быть с успехом применены для нейтрализации паразитных емкостей усилительных элементов.

На рис. 7 показан способ нейтрализации емкости лампового усилителя в первом каскаде УКВ конвертера. При помощи трансформатора Т1 инвертируется фаза анодного напряжения на лампе VI. Нейтрализующий внутреннюю емкость лампы VI конденсатор С1 обеспечивает баланс токов в широкой полосе частот, благодаря чему усилитель работает более устойчиво, нежели при обычно используемой радиолюбителями «индуктивной» нейтрализации.
Емкость нейтрализующего конденсатора С1 выбирают равной проходной емкости лампы (для 6СЗП — 2 пФ). Трансформатор Т1 содержит 2Х3 витка на кольце К10Х7ХЗ из феррита 50ВЧ. Параметры трансформатора не очень критичны.
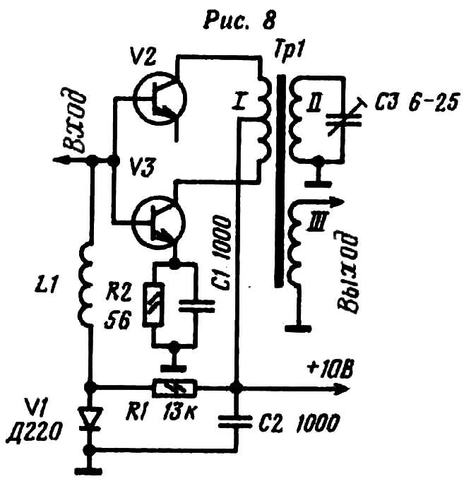
Для транзисторных усилителей в качестве нейтрализующего конденсатора целесообразно применять закрытый переход однотипного транзистора (рис. 8).
При этом, поскольку емкость коллекторного перехода зависит от напряжения на коллекторе, обеспечивается баланс при изменении режима усилителя. Первичная обмотка трансформатора Т1 должка быть выполнена симметричной.
Симметрия обмоток трансформатора, которая сравнительно легко достигается при использовании ферритовых колец, часто способствует достижению хороших параметров. К примеру, на рис. 9 показан эффективный удвоитель частоты.

Благодаря высокой симметрии первая, нежелательная, гармоника подавляется на 30-40 дБ. Максимальная амплитуда второй гармоники достигается подбором уровня возбуждения и сопротивления резистора R1. При использовании современных планарных транзисторов, имеющих малый разброс параметров, никаких дополнительных мер по симметрированию (кроме симметричного выполнения вторичной обмотки трансформатора Т1) на KB диапазонах применять не нужно.
Для еще лучшего подавления гармоник полезно включить в обе эмиттерные цепи раздельные RC цепочки (параллельное включение эмиттеров увеличивает разброс параметров плеч).
У некоторых радиолюбителей вызывает затруднение определение резонансной частоты колебательного контура, содержащего катушку на ферритовом кольце. С точностью около 5% частота может быть измерена при помощи ГИРа, который связывают с контуром короткозамкнутым витком, пропущенным через кольцо. Можно рекомендовать следующие ориентировочные данные резонансных контуров: магнитопровод К7x4x2 из феррита ЗОВЧ; емкость конденсатора контура— 20 пФ; провод ПЭВ-1 0,1—0,2; число витков— 12(28 МГц). 16(21 МГц), 24(14 МГц), 40 на двух кольцах (7 МГц), 50 на четырех кольцах (3,5 МГц).
Добротность таких контуров на 3,5 МГц может достигать 250, на 28 МГц—170. В заключение следует предупредить радиолюбителей. что свойства феррита необратимо ухудшаются при его намагничивании, поэтому следует ограничивать подмагничивающий ток величиной примерно 100 мА на один ниток (на два витка—соответственно 50 мА и т. д.).